Observing Drawbar Load Limitations

IMPORTANT:

RXA0090815
RXA0090815-UN-14SEP06

Drawbar

RXA0090722
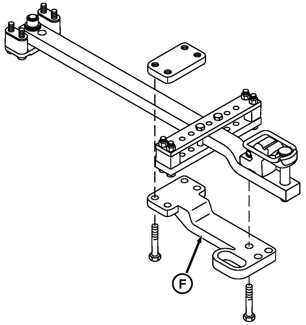
RXA0090722-UN-14SEP06

Heavy Duty Drawbar with Support

A - Drawbar

B - PTO Shaft

C - Dimension

D - Short Position

E - Long Position

F - Heavy Duty Support

Heavy implements together with rough terrain and speed can place excessive strain on drawbar. Do not exceed maximum static vertical load on drawbar for a given drawbar (A) length/position, as indicated in the following table.

IMPORTANT: Heavy duty drawbar support must be used when maximum static vertical load exceeds 2245 kg (4950 lb).

NOTE: Special cap screws are used on drawbars. See your John Deere dealer if cap screws must be replaced.

When vertical load exceeds 2245 kg (4950 lb), attach heavy duty support (F) on Category 4 drawbar and tighten special cap screws to torque specification.

ItemMeasurementSpecification
Heavy Duty Drawbar Support
Support Cap ScrewsTorque430 N·m (318 lb-ft)

Drawbar Load Limits Based on Drawbar Position, Length and PTO Type

Tractor Model and Drawbar Category

PTO Shaft (B)

End of PTO Shaft to Draw Pin Hole Distance (C)

Drawbar Position

Maximum Vertical Drawbar Load

8285R, and 8310R with Cat 3 Drawbar

Standard 45 mm (1-3/4 in.) Diameter shaft w/20 splines 1000 rpm

508 mm (20 in.)

Front Hole (E) Long Position

1837 kg (4050 lb)

8285R, and 8310R with Cat 3 Drawbar

Optional 35 mm (1-3/8 in.) Diameter shaft w/6 splines 540 rpm

350 mm (14 in.)

Rear Hole (D) Short Position

2700 kg (6000 lb)

8285R, and 8310R with Cat 3 Drawbar

Optional 35 mm (1-3/8 in.) Diameter shaft w/21 splines 1000 rpm

400 mm (16 in.)

Front Hole (E) Long Position

1837 kg (4050 lb)

8335R with Cat 4 Drawbar

Standard 45 mm (1-3/4 in.) Diameter shaft w/20 splines 1000 rpm

508 mm (20 in.)

Single Hole Drawbar

2245 kg (4950 lb)

8335R with Cat 4 Drawbar

Optional 35 mm (1-3/8 in.) Diameter shaft w/6 splines 540 rpm

N/A

N/A

N/A

8335R with Cat 4 Drawbar

Optional 35 mm (1-3/8 in.) Diameter shaft w/21 splines 1000 rpm

400 mm (16 in.)

Single Hole Drawbar

2245 kg (4950 lb)

8285R, 8310R, and 8335R and with Cat 4 Drawbar and Heavy Duty Drawbar Support

Standard 45 mm (1-3/4 in.) Diameter shaft w/20 splines 1000 rpm

508 mm (20 in.)

Single Hole Drawbar

4990 kg (11,000 lb)

8285R, 8310R, and 8335R with Cat 4 Drawbar and Heavy Duty Drawbar Support

Optional 35 mm (1-3/8 in.) Diameter shaft w/6 splines 540 rpm

Not Recommended

8260R, 8285R, 8310R, 8335R and with Cat 4 Drawbar and Heavy Duty Drawbar Support

Optional 35 mm (1-3/8 in.) Diameter shaft w/21 splines 1000 rpm

400 mm (16 in.)

Single Hole Drawbar

4990 kg (11,000 lb)

Category 3 drawbar uses a 38 mm (1.5 in.) draw pin.

Category 4 uses a 51 mm (2.0 in.) draw pin.

OURX935,00000A5-19-20130220