Rear Wheel, Tire, and Tread Guidelines

RXA0105827-UN-28JAN10
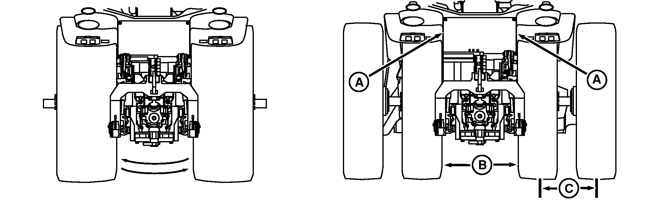
A - Clearance Between Inner Wheel and Fender
B - Distance between inside wall of Drive Wheel
C - Minimum Spacing between Duals
Reverse wheels on axles to provide a wider range of settings
by changing rim position. Maintain correct direction of tire rotation
by moving each wheel to opposite side of tractor.
IMPORTANT: Tires must have at least 25 mm (1 in.) clearance
with fenders (A). Distance between tires (B) must be at least 1015
mm (40 in.) with tires equal distances from tractor centerline. With sway blocks in upper position (sway allowed), minimum distance
between tires must be 1090 mm (43 in.) to prevent interference.
Check for adequate clearance between implement and rear tires.
DO NOT mix radial and bias-ply tires on same axle.
Radial-ply tires do not require special rims.
Drive and dual tires mounted on the same axle should all be
inflated to the same pressure.
Cast wheels are used inside and steel wheels on the outside
on tractors with duals.
Over inflating a radial tire reduces machine performance. Using
the correct inflation pressures will result in optimum tractive performance.
CAUTION: Avoid personal injury and tractor instability. Never
operate with single tires having tread width less than 1520 mm (60
in.). Turning while operating at transport speeds with narrow tread
widths can cause tractor instability. Increase tread width to improve
stability.
IMPORTANT: Do not exceed 2800 mm (110 in.) between single tires
for pulling heavy loads.
|
Recommended Minimum Spacing for Dual Tires (C)
|
|
Tread setting is measured between center of tires
|
|
Tire Section
|
Minimum Spacing
|
| |
|
|
320 mm (12.4 in.)
|
334 mm (17.1 in.)
|
|
380 mm (14.9 in.)
|
507 mm (20. in.)
|
|
420 mm (16.9 in.)
|
552 mm (21.7 in.)
|
|
480 mm (18.4 in.)
|
626 mm (24.6 in.)
|
|
520 mm (20.8 in.)
|
670 mm (26.4 in.)
|
|
620 mm (24.5 in.)
|
801 mm (31.5 in.)
|
|
650 mm (25.5 in.)
|
825 mm (32.5 in.)
|
|
710 mm (28.0 in.)
|
890 mm (35 in.)
|
|
800 mm (30.5 in.)
|
1008 mm (39.7 in.)
|
|
|
OURX935,0000318-19-20110523
|
|