Included In 50 Hour Service
When scheduled service at any hourly level is performed, also
perform all subordinate hourly level services. See Section 95, Observe
Service Intervals for table listing main and subordinate services.
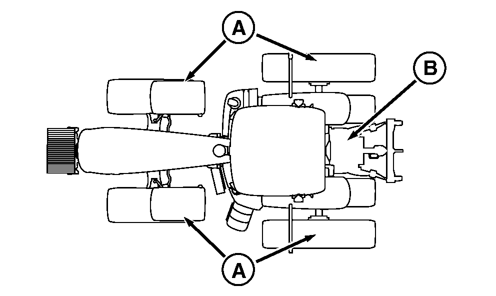
50 hour services indicated on tractor silhouette:

RXA0117840-UN-10JUN11
50 Hour Services—Overhead View
-
A — Checking Tires
-
B — Lubricating Rear Hitch Components
|
|
OURX935,00003D0-19-20110910
|
|