Не приближаться
к вращающимся
частям карданной
передачи

TS1644-UN-22AUG95

H96219-UN-29APR10
Затягивание во
вращающуюся карданную
передачу может
привести к тяжелым
травмам или смерти.
На тракторе всегда
должны быть установлены
щитки карданных
передач и оградительный
щиток. Убедиться
в том, что вращающиеся
щитки поворачиваются
свободно.
Одежда должна
плотно прилегать
к телу. Перед регулировкой,
подсоединением
или очисткой оборудования
с приводом от ВОМ
необходимо убедиться
в том, что двигатель
и ВОМ остановлены.
Между трактором
со скоростью вращения
ВОМ 1000 об/мин и первичным
приводным валом
рабочего оборудования,
рассчитанного
на скорость 540 об/мин,
запрещено устанавливать
переходное устройство,
повышающее скорость
привода рабочего
оборудования.
Запрещено устанавливать
переходные устройства,
из-за которых часть
вращающегося
вала рабочего оборудования,
вала трактора или
переходника окажется
без ограждения.
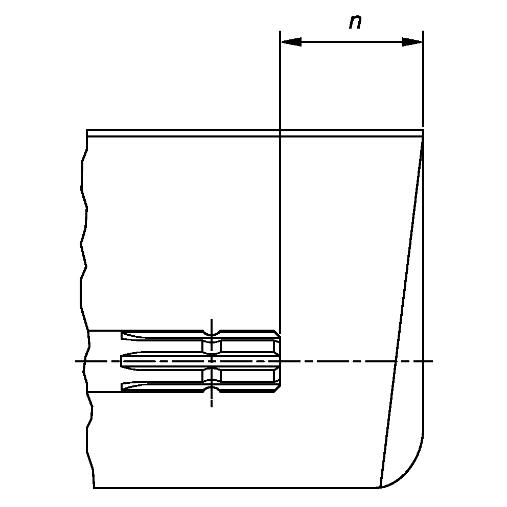
Оградительный
щиток трактора
должен перекрывать
конец шлицевого
вала и добавленного
переходного устройства,
как указано в таблице.
|
Тип ВОМ
|
Диаметр
|
Шлицы
|
n ± 5 мм (0.20 дюйм.)
|
|
1
|
35 мм (1.378 дюйм.)
|
6
|
85 мм (3.35 дюйм.)
|
|
2
|
35 мм (1.378 дюйм.)
|
21
|
85 мм (3.35 дюйм.)
|
|
3
|
45 мм (1.772 дюйм.)
|
20
|
100 мм (4.00 дюйм.)
|
|