ПРИМЕЧАНИЕ: По вопросу замены
фильтрующего
элемента и прокладки
корпуса фильтра
обратиться к дилеру
John Deere.
-
Заглушить двигатель.

RXA0089770-UN-14JUL06
Снятие крепежных
болтов

RXA0089818-UN-14JUL06
Снятие пружинной
кассеты и фильтрующего
элемента

RXA0089773-UN-14JUL06
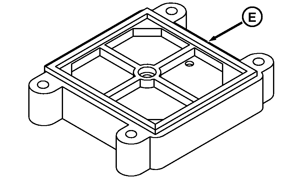
Прокладка
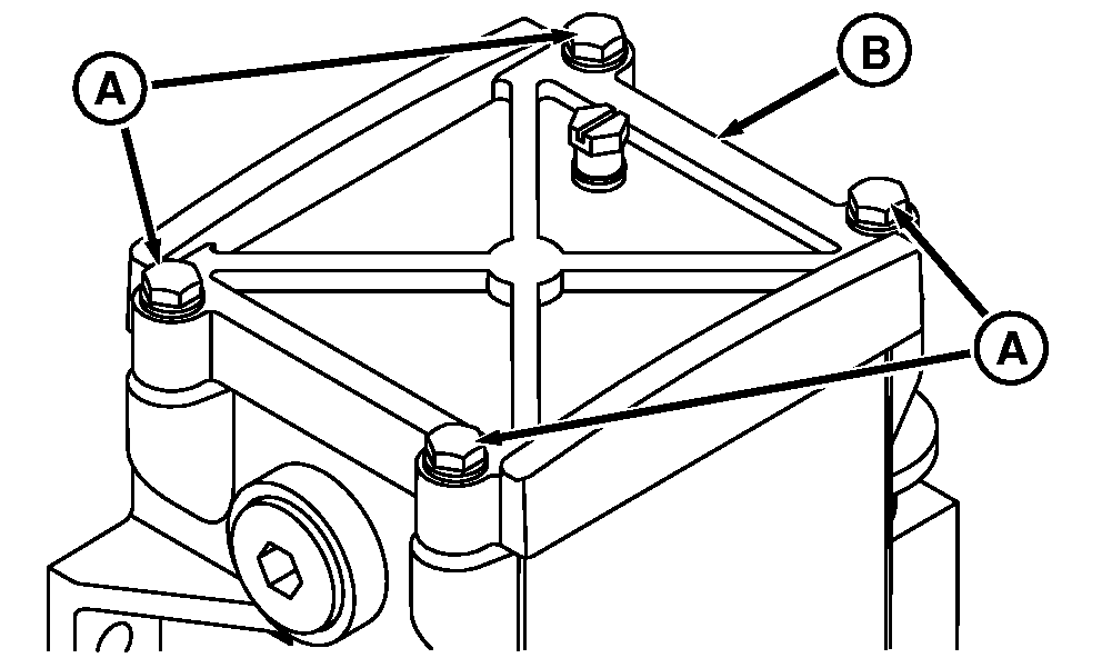
A - Крепежные
болты
B - Крышка
C - Пружинная
кассета
D - Рукоятка
E - Прокладка
|
ИНТЕРВАЛ
ОБСЛУЖИВАНИЯ —
500 ЧАСОВ
|
ПРИМЕЧАНИЕ: Слить топливо
в подходящую емкость
и утилизировать
надлежащим образом.
-
Открыть сливной
клапан и слить
топливо из чашки.
-
Отвернуть крепежные
болты (A) и снять
крышку (B).
-
Снять пружинную
кассету (C).
-
Вынуть фильтрующий
элемент с помощью
рукоятки (D).
-
Промыть фильтр
в чистом дизельном
топливе или уайт-спирите.
-
Осмотреть фильтр
на отсутствие повреждений.
При повреждении
заменить фильтр
на новый.
-
Установить фильтрующий
элемент.
-
Установить пружинную
кассету.
-
Проверить состояние
прокладки крышки
(E) и заменить ее
при необходимости.
-
Установить новый
фильтр, пружинную
кассету, крышку
и четыре крепежных
болта. Затянуть
крепежные болты
от руки.

RXA0089820-UN-14JUL06
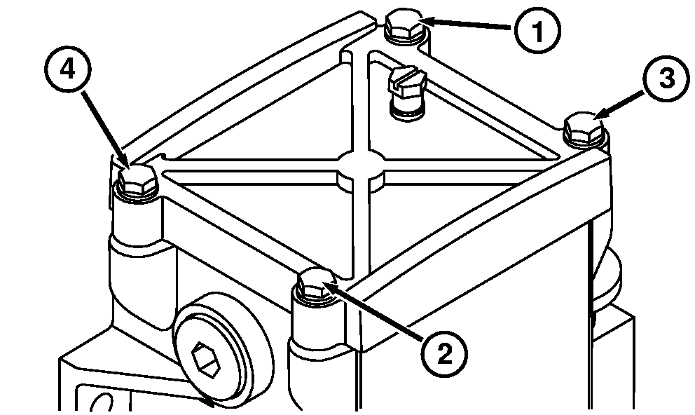
Установка крепежных
болтов
-
Затянуть крепежные
болты в указанной
на рисунке последовательности.
-
Заполнить топливную
систему и проверить
ее герметичность.