Вспомогательные
и защелкивающиеся
соединители для
подсоединения
фитингов STC®

RXA0080095-UN-31MAR05
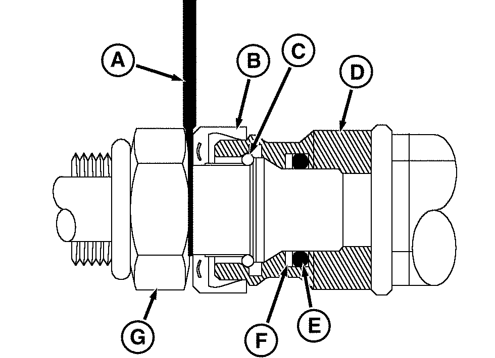
A - Инструмент
JDG1885 STC
B - Освобождающее
кольцо
C - Фиксирующее
кольцо
D - Охватывающий
конец (фитинг STC)
E - Уплотнительное
кольцо
F - Опорное кольцо
G - Входящий конец
(штуцер STC)
ОСТОРОЖНО: Не отсоединяйте
фитинг STC, если он
находится под давлением.
Если перед отсоединением
фитинга давление
не будет сброшено,
возможны травмы
и повреждение
оборудования.
-
ПРИМЕЧАНИЕ: Фитинги с зажимами
используются
в линиях, выполненных
из стали, и шланговых
соединениях и
предлагаются с
самыми разными
размерами. Инструмент
JDG1885 STC (A) предназначен
для использования
в качестве распорки
для перемещения
освобождающего
кольца (B) вовнутрь,
что позволяет разблокировать
стопорное кольцо
(C). Инструмент JDG1885 STC
можно приобрести
у дилера John Deere.
ВАЖНО: Не используйте
инструмент для
разделения фитингов.
Использование
приспособления
как рычага может
привести к повреждению
фитинга и приспособления.
Вставьте подходящее
приспособление
STC между отпускным
кольцом и фитингом.
-
Снимите шланг
или линию с разъема.
ПРИМЕЧАНИЕ: При повреждении
стопорного кольца
(C), опорного кольца
(F) или кольцевого
уплотнения (E) обращайтесь
к местному дилеру
компании John Deere для
заказа запасного
комплекта и замены
таких деталей.
Перед подсоединением
защелки для подсоединения
фитинга:
-
Проверьте сопряженные
поверхности на
отсутствие вмятин,
порезов или плоских
участков.
-
Проверьте уплотнительное
кольцо и стопорное
кольцо на отсутствие
износа или повреждения.
-
Проверить охватывающий
(D) и входящий конец
(G) на предмет загрязнения
и очистить при
необходимости.
-
Проверить, что
отпускная пружина
(B) находится на входящем
конце.
-
Сдвиньте вместе
половины фитинга,
так чтобы почувствовать
определенный щелчок
и упор.
-
Потяните за шланг,
чтобы проверить
соединение половин
фитинга.
|
STC - зарегистрированная
торговая марка
Aeroquip Corporation
|
OURX935,0000C02-59-20111205
|
|