Проверка уровня
масла в подшипниковой
опоре

RXA0095928-UN-18SEP07
Крепление
гусеничной рамы
к корпусу моста
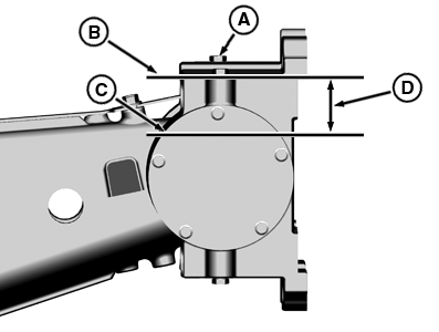
A - Заливная заглушка
B - Поверхность
подшипниковой
опоры
C - Уровень масла
D - 80 мм (3-3/16 дюйм.)
|
ИНТЕРВАЛ
ОБСЛУЖИВАНИЯ —
ТОЛЬКО ПРИ ПОЯВЛЕНИИ
КАПЕЛЬ МАСЛА ВОКРУГ
КОРПУСА
|
-
Извлечь заливную
заглушку (A).
-
ПРИМЕЧАНИЕ: Подшипниковая
опора содержит
приблизительно
380 мл (13 унц.) масла гидравлической
системы.
Заполнить подшипниковую
опору гидравлическим
маслом до уровня
(C), находящегося
приблизительно
на 80 мм (3-3/16 дюйм.) (D) ниже
поверхности подшипниковой
опоры (B).
-
Установить заливную
заглушку (A) и затянуть
согласно спецификации.
| Наименование | Измерение | Спецификация |
|
Заливная заглушка
подшипниковой
опоры | Момент
затяжки | 45 Н·м (33 фнт-фт) |
|
|
RW29387,00004EC-59-20100127
|
|