Использование
чувствительной
к нагрузке гидросистемы
– Добавленная
мощность

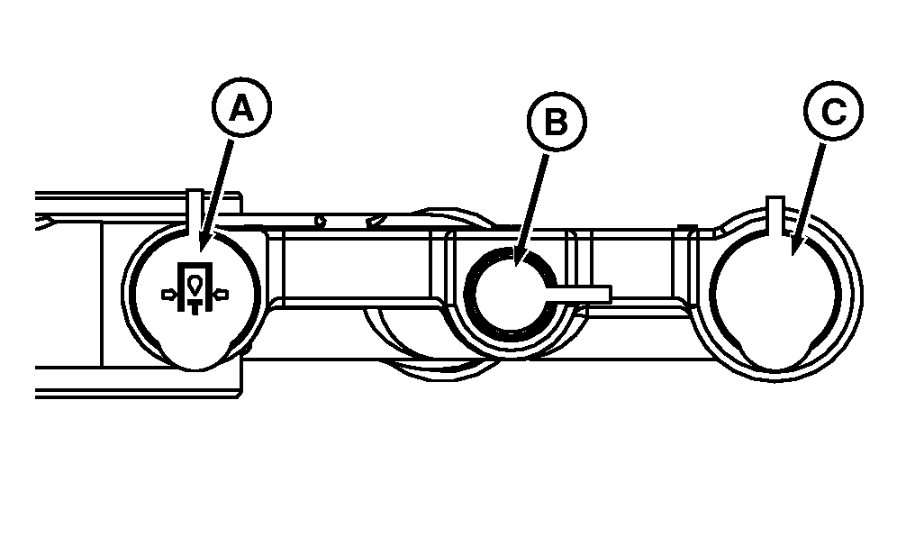
RXA0112114-UN-24NOV10
Муфта механизма
добавленной мощности
A - Напорная муфта
системы добавления
мощности
B - Разъем контура
измерения нагрузки
C - Муфта возвратного
отверстия
Функция добавленной
мощности используется
в качестве источника
давления/расхода
для выполнения
вспомогательных
функций с использованием
независимых клапанов
управления расходом.
Используйте функцию
добавленой мощности
в следующих случаях:
-
Управление селективными
контрольными клапанами
трактора не требуется
-
Другие выходы
селективного контрольного
клапана отсутствуют
Для использования
функции добавленной
мощности требуется
наличие управляющего
сигнала “измерения
нагрузки” для регулирования
давления насоса,
поэтому используется
гидравлический
трубопровод контура
измерения нагрузки.
Некоторые виды
оборудования потребуют
модификации. (обратитесь
к дилеру компании
John Deere)
|
|
RW29387,0000565-59-20101112
|
|