Using Load-Sensing Hydraulic System—Power-Beyond

RXA0112114-UN-24NOV10
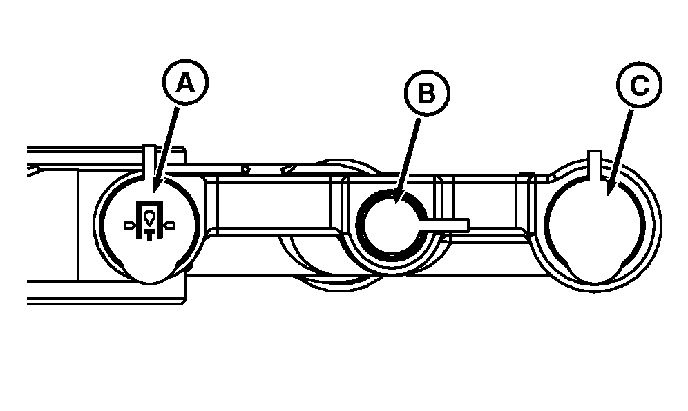
Power-Beyond Coupler
A - Power-Beyond Pressure Coupler
B - Load Sense Connection
C - Return Port Coupler
Power-beyond is used as a pressure/flow source for auxiliary
functions equipped with independent flow control valves. Use power-beyond
when:
-
Tractor SCV control is not needed
-
No other SCV outlet is available
Power-beyond functions require a "load-sense" signal to regulate
pump pressure, therefore, a "load-sense" hydraulic line is used. Certain
equipment may require modification. (See your John Deere Dealer.)
|
|
RW29387,0000565-19-20101112
|
|