Category 4 Heavy Duty Drawbar Reinforcement Kit Load Limitations
(If Equipped)
IMPORTANT:

RXA0111487-UN-27OCT10
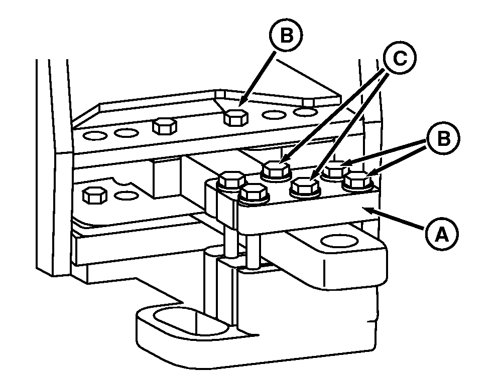
Heavy Duty Drawbar Support
A - Drawbar Brace
B - Hammerstrap
C - Spacer Blocks
D - Cap Screws, M22
E - Cap Screws, M20
Heavy implements together with rough terrain and speed can
place excessive strain on drawbar. Do not exceed maximum
static vertical load for a given drawbar length/position, as indicated
in the following table.
Heavy duty drawbar support must be used when maximum static
vertical load exceeds 2043 kg (4500 lb).
Special cap screws are used on drawbars. See your John Deere
dealer if cap screws must be replaced.
IMPORTANT: Heavy Duty Drawbar Kit must be installed when maximum
static vertical load on the category 4 drawbar exceed 2470 kg (5450
lbs) in the short position or 2268 kg (5000 lbs) in the long position. The kit is available from your John Deere dealer.
Attach drawbar brace (A), hammerstrap (B) and spacer block (C)
using cap screws (D) and (E).

RXA0109552-UN-13AUG10
Heavy Duty Hammerstrap
A - Plate
B - Cap Screws, M22
C - Cap Screws, M20
IMPORTANT: Clamp plate must be installed to retain the category
4 drawbar brace when hammerstrap is not used.
Install clamp pate (A) using cap screw (B) and (C).

RXA0073937-UN-11MAR04
Torque cap screws in crisscross sequence:
A - Torque number 1
B - Torque number 4
C - Torque number 2
D - Torque number 3
E - Torque number 1
F - Torque number 4
G - Torque number 2
H - Torque number 3
I - Torque number 5
J - Torque number 6
K - Torque number 5
L - Torque number 6
| Item | Measurement | Specification |
| Torque Specifications |
|
Cap Screws 1, 2 3 and 4. | Torque | 610 N˙m 450 lb-ft |
|
Cap Screws 5 and 6 | Torque | 750 N˙m 550 lb-ft |
|
|
RW29387,0000784-19-20121130
|
|