Wheel Torque Wrench Adapter—JDG679

RXA0086802-UN-15FEB06

RXA0086804-UN-15FEB06

RXA0061214-UN-19JUN02

RXA0062101-UN-15AUG02
A - JDG679 Torque Wrench Adapter
JDG679 Torque Wrench Adapter (A), 32 mm (3/4 in.) drive is designed
for easy access to sleeve bolts on inner cast wheels with outside
duals in place.
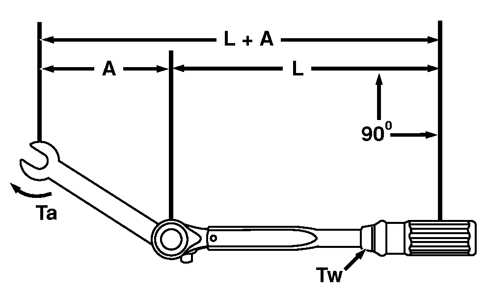
Torque wrench adapter should be at 90°
angle from torque wrench shaft for correct torque specification.
See your John Deere™ Dealer to order.
| Item | Measurement | Specification |
|
Cast Wheel Cap Screws | Torque | 610 N˙m (450 lb.-ft.) |
When unable to use Adapter at
90° angle from torque wrench shaft, use this formula to calculate
correct torque setting.
|
Tw
|
=
|
Torque setting on torque wrench
|
|
Ta
|
=
|
Torque actually being applied to the nut or cap screw
|
|
L
|
=
|
Length from point of force (center of the wrench handle) to
the center of head of torque wrench
|
|
A
|
=
|
Application distance from center of torque wrench head to the
center of adapter which is 95 mm (3.75 in.)
|
Example: Torque wrench length = 0.91 m (36 in.), wrench adapter
= 0.1 m (4 in.), so new Tw for torque wrench setting is 549 N˙m
(405 lb.-ft.).
|
|
TO84419,0000149-19-20140613
|
|