Adjust Sway Blocks
Install sway blocks (A) in lower position to minimize side sway
of hitch.

RXA0129476-UN-20NOV12
Sway Blocks in Lower Position

RXA0090041-UN-04AUG06

RXA0117508-UN-15JUN11
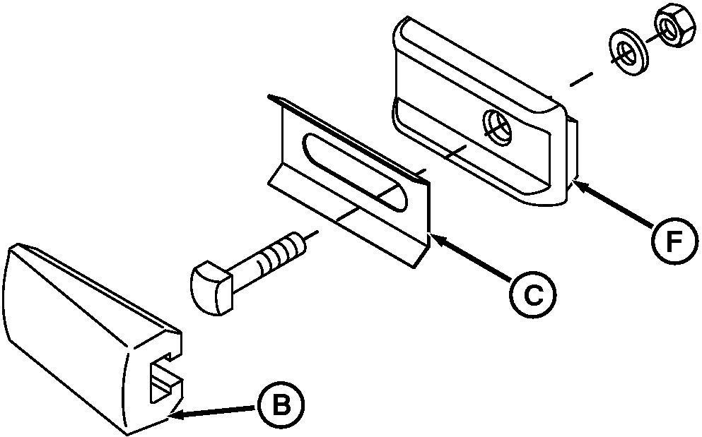
A - Sway Blocks
B - Bumper Block
C - Shim
D - Distance Clearance Between Tires And Cab
E - Distance Between Tires
F - Spacer
Adjust bumper (B) by loosening lock nut and sliding forward
or rearward to limit amount of sway.
Mount sway blocks (A) in upper position to allow side sway when
hitch is lowered. Side sway is prevented when hitch is raised.
If there is not enough adjustment in bumper block to remove
hitch sway, install shims (C) as necessary between bumper block (B)
and spacer (F).
IMPORTANT: Tires must have at least 25 mm (1 in.) clearance
distance (D) with fenders. To prevent draft link interference, distance
(E) between tires is following:
-
Category 3N Hitch—1.09 m (43 in.)
-
Category 3 Hitch—1.17 m (46 in.)
Converting to Category 3 or 3N
-
Tractor is equipped with factory installed quick coupler for
Category 3 applications.
-
To convert to Category 3N, move spacer (F) outside of draft
link.
|
|
TO84419,0000136-19-20130311
|
|