Hitch Conversion—Convertible Quick Coupler

RXA0129732-UN-20NOV12
Spacer and Bumper Block

RXA0128279-UN-24SEP12
Quick Coupler

RXA0128278-UN-24SEP12
Coupler Latch Lever
A - Spacer
B - Bumper Block
C - Retaining Bolts
D - Cap Screws
E - Right-Hand Side Member
F - Left-Hand Side Member
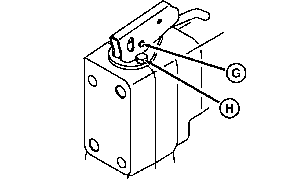
G - C-Clip and Pin
H - Cap Screw
-
Converting to category 3N is necessary for narrow row/tread
spacing operations. Quick coupler is convertible to Category 3 or
Category 3N. Use Category 3 whenever possible, especially for heavy
loads. Install spacer (A) on outside of draft link for Category 3N.
IMPORTANT: If coupler is converted to category 3N, sway block
spacer (A) must be mounted on outside of draft link to avoid damaging
equipment.
-
Adjust bumper block (B) to minimize clearance.
-
Tighten nut securely.
-
Support center of quick coupler. Remove pin retaining bolts
(C) and pins from draft link. Remove side member cap screws (D).
-
Swap quick coupler side members, left- hand side member (F)
to right end and right-hand side member (E) to left. Tighten cap screws
to 320 N·m. (236 lb.-ft.)
-
Disconnect latch levers by removing C-clip and pin (G).
-
Remove cap screw (H) from wear plate and turn tab inward.
-
Install cap screws and tighten securely.
-
Reconnect levers.
|
|
TO84419,000013B-19-20140701
|
|