Service and Connect Snap-to-Connect (STC)® Fittings

RXA0080095-UN-31MAR05
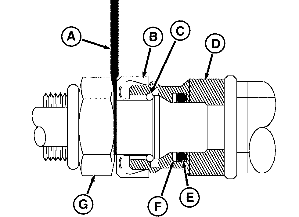
A - JDG1885 STC™ Tool
B - Release Ring
C - Retaining Ring
D - Female End (STC™ Fitting)
E - O-ring
F - Backup Ring
G - Male End (STC™ Fitting)
CAUTION: Do not disconnect STC™ fitting when under pressure.
Failure to relieve pressure before disconnecting fitting may result
in personal injury, damage to equipment or both.
Snap-to-Connect fittings are used on steel lines, hose connections
and come in a variety of sizes. JDG1885 STC™ tool (A) is designed
as a spacer to move release ring (B) inward which releases retaining
ring (C). JDG1885 STC™ tool can be purchased through your John
Deere™ dealer.
-
IMPORTANT: Do not use tool to pry fittings apart. Prying with
tool may damage fitting and tool.
NOTE: If retaining ring (C), backup ring (F) or O-ring (E) are
damaged, see your John Deere™ dealer for replacement kit and
replace all three parts.
Insert correct STC™ tool between release ring and fitting.
-
Remove hose or line from connector.
-
Before connecting Snap-to-Connect fitting, check mating surfaces
for nicks, scratches or flat spots.
-
Check O-ring, backup ring and retaining ring for wear or damage.
-
Make sure female end (D) and male end (G) are clean and free
of contaminates.
-
Make sure release ring (B) is on male end fitting.
-
Push fitting halves together until a definite snap and solid
stop is felt.
-
Pull back on hose to make sure that fitting halves are locked
together.
|
Snap-to-Connect (STC)
is a trademark of Eaton Corporation
|
TO84419,0000214-19-20130906
|
|