Aim Headlights

RXA0107269-UN-03JUN10
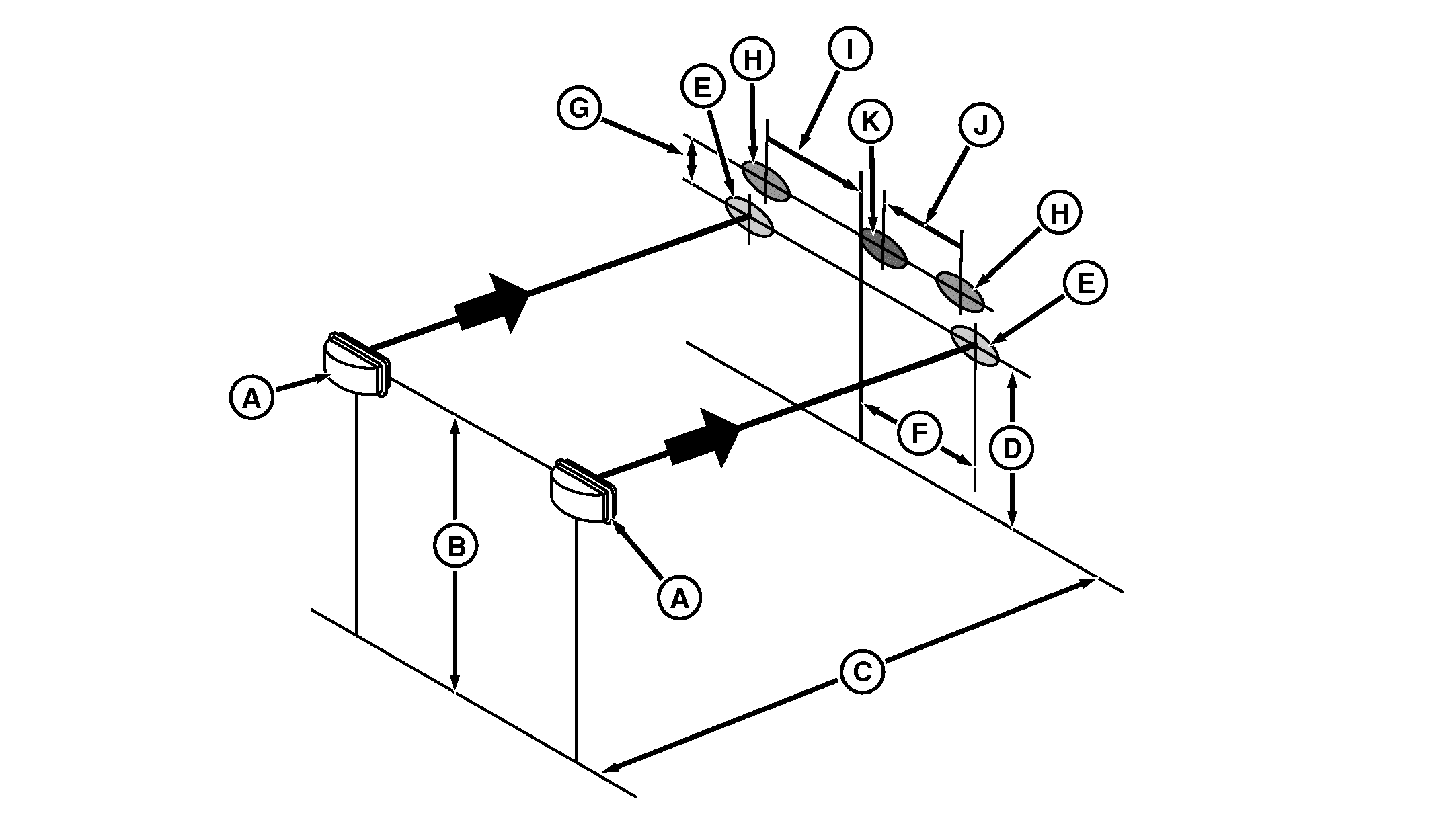
A - Low Beam Road Lights
B - Distance, Road Light Low Beam Center To Ground
C - Distance, 7.5 meters (25 ft.)
D - Horizontal Line on Wall
E - Road Light Low Beam Center
F - Distance, 914 mm (36 in.)
G - Distance, 355 mm (14 in.) (Road Light Low Beam
Center To High Beam Center)
H - Road Light High Beam Center
I - Distance, 787 mm (31 in.) (Road Light High Beam
Center To Tractor Center Line)
J - Distance, 635 mm (25 in.) (Road Light High Beam
Center To Inner Hood Light Beam Center)
K - Inner Hood Light Beam Center
-
Park tractor on level surface with low beam road lights (A)
7.5 meters (25 ft.) (C) from a straight wall. Turn on low beam road
lights.
-
Measure distance (B) from center of road light low beam lamps
to ground.
-
Mark a horizontal line on wall at same height as center of road
light low beams.
-
On wall, mark each road light low beam center.
-
On wall, determine and mark vertical center line between center
of road light low beams.
-
Distance (F) between centers of road light low beams and center
line should be 914 mm (36 in.). Adjust if this is not the measurement.
-
Turn on road light high beam.
-
Adjust road light high beams so edge of bright area (H) is at least one tenth of distance (B) above road light low beam centers (E).
-
On wall, mark each road light high beam center (H), then mark
a horizontal center line between center of road light high beams.
-
Distance (I) between center of road light high beams and center
line should be 787 mm (31 in.).
-
Make sure inner hood lights are configured as ON, then turn
on field lights. Inner hood light beam center (K) should be on horizontal
line between center of road light high beams.
-
Distance (J) between inner hood light beam center (K) and light
center line should be 635 mm (25 in.).
|
|
TO84419,000022F-19-20140402
|
|