Use Wheel Torque Wrench Adapter

RXA0086802-UN-15FEB06

RXA0086804-UN-15FEB06

RXA0061214-UN-19JUN02

RXA0062101-UN-15AUG02
A - JDG679 Torque Wrench Adapter
Install JDG679 Torque Wrench Adapter (A) [32 mm (3/4 in) drive]
to allow easy access to sleeve bolts on inner cast wheels with outside
duals in place. Purchase from your John Deere dealer.
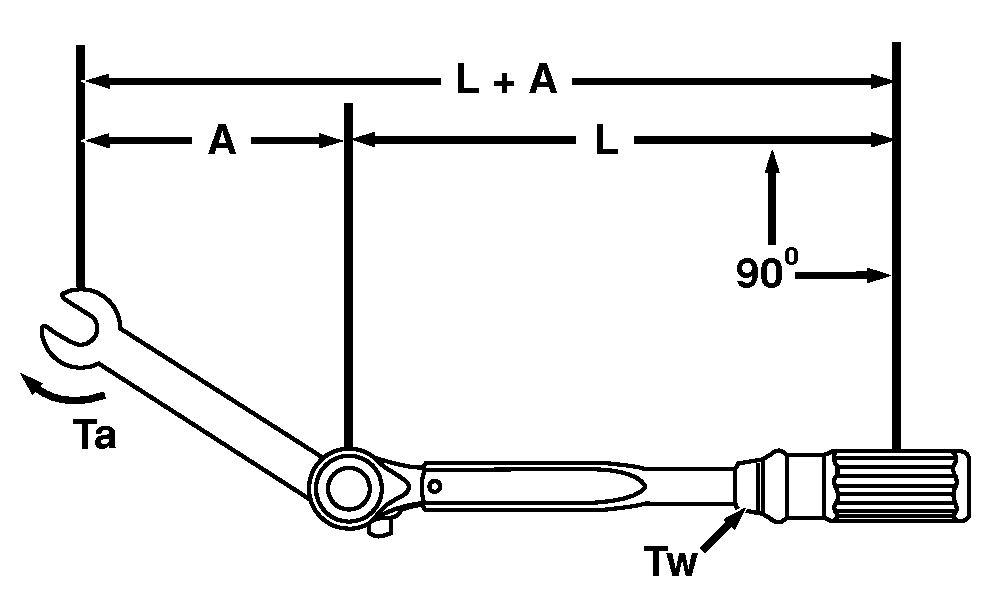
Install adapter at 90° angle from
torque wrench shaft to assure correct torque specification.
| Item | Measurement | Specification |
|
Cast Wheel Cap Screws | Torque | 610 N·m (450 lb·ft) |
When unable to use adapter at
90° angle from torque wrench shaft, use formula to calculate correct
torque wrench setting (Tw) to obtain desired final torque on bolts.
|
Tw
|
=
|
Torque setting on torque wrench
|
|
Ta
|
=
|
Torque actually being applied to bolt
|
|
L
|
=
|
Length from point of force (center of the wrench handle) to
center of head of torque wrench
|
|
A
|
=
|
Application distance from center of torque wrench head to center
of adapter [95 mm (3.75 in)]
|
Example: Torque wrench length = 0.91 m (36 in), wrench adapter
= 0.1 m (4 in), Value Tw for torque wrench setting is 549 N·m
(405 lb·ft).
|
John Deere is a trademark of Deere
& Company
|
GH15097,000049F-19-20160831
|
|