Load-Sense Hydraulic Connections - Examples

RXA0138783-UN-28JAN14
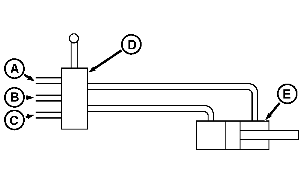
Example 1

RXA0138782-UN-28JAN14
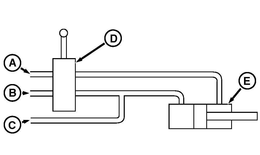
Example 2
A - Return Line
B - Pressure Line
C - Load-Sense Line
D - Control Valve
E - Cylinder
Example 1 —Control valves
with a load-sense provide a load-sense signal to hydraulic system
and can be operated manually or by solenoids.
NOTE: Example 1 is the preferred practice.
Example 2 —Control valve
directs oil into extend or retract circuits. Connect load-sense line
to circuit requiring pressure. An example is a wagon lift cylinder
with load supported by mechanical stops in full down position. Load-sense
signals pump when increased pressure is needed. Pressure remains low
when load is supported by mechanical stops.
IMPORTANT: Circuit allows cylinder "leak-down" through load-sense
line (C). If leakage is not acceptable for operation, use Example
3.

RXA0138269-UN-17JAN14
Example 3 - Control Valve Directs Oil into Extend
or Retract Circuits.

RXA0138270-UN-17JAN14
Example 4 - Pressure Compensated Flow Control Valve.
A - Pressure Line
B - Return Line
C - Load-Sense Line
D - Control Valve
E - Cylinder
F - Pressure-Compensated Flow Valve
G - Hydraulic Motor
H - Motor Case Drain (Sump Line)
Example 3—Control valve
directs oil into extend or retract circuits, either requiring high
pressure. Connect load-sense line to pressure line before control
valve.
IMPORTANT: System maintains a maximum pressure of 20000 kPa
(200 bar) (2900 psi) as long as power-beyond hoses are connected.
An example is a folding implement, where pressure is needed
to extend or retract cylinders.
Example 4—Pressure-compensated
flow control valve is used to regulate hydraulic motor speed. Connect
load-sense line to pressure line after control valve.
NOTE: Pressure compenstated flow control valve regulates pump
pressure to stabilize motor speed. Valve minimizes pump pressure fluctuations
caused by activation of other hydraulic functions while motor is running.
Connect load-sense line to pressure line after control valve.
|
|
RD47322,0000690-19-20150505
|
|