Category 4 Heavy Duty Drawbar Reinforcement Kit Load Limitations

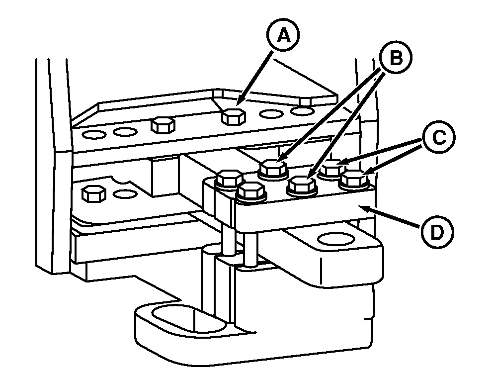
RXA0141868-UN-30MAY14
Heavy Duty Drawbar Support
A - Cap Screws, M20
B - Cap Screws, M22
C - Hammerstrap
D - Drawbar Brace
E - Spacer Blocks

RXA0141869-UN-30MAY14
Heavy Duty Hammerstrap
A - Cap Screws, M20
B - Cap Screws, M22
C - Cap Screws, M20
D - Plate

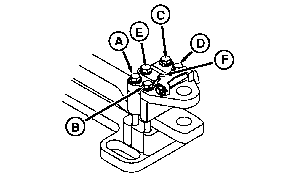
RXA0142452-UN-13JUN14
IMPORTANT: Heavy implements together with rough terrain and
speed can place excessive strain on drawbar. Do not exceed
maximum static vertical load for given drawbar length/position.
Heavy duty drawbar support must be used when maximum static
vertical load exceeds 2043 kg (4500 lb).
Special cap screws are used on drawbars. See your John Deere™
dealer if cap screws must be replaced.
IMPORTANT: Heavy Duty Drawbar Kit must be installed when maximum
static vertical load on category 4 drawbar exceed 2470 kg (5450 lb)
in short position or 2268 kg (5000 lb) in long position. Kit is available from your John Deere™ dealer.
Attach drawbar brace (A), hammerstrap (B), and spacer block
(C) using cap screws (D) and (E).
IMPORTANT: Clamp plate must be installed to retain category
4 drawbar brace when hammerstrap is not used.
Install clamp plate (D) using cap screws (A), (B), and (C).
Torque cap screws in according to following sequence:
-
Torque (A).
-
Torque (D).
-
Torque (B).
-
Torque (C).
-
Torque (A).
-
Torque (D).
-
Torque (B).
-
Torque (C).
-
Torque (E).
-
Torque (F).
-
Torque (E).
-
Torque (F).
| Item | Measurement | Specification |
| Torque Specifications |
|
M20 Cap Screws (A), (B), (C), and (D) | Torque | 610 N·m (450 lb·ft) |
|
Cap Screws (E) and (F) | Torque | 750 N·m (550 lb·ft) |
|
|
TO84419,0000100-19-20151104
|
|