Quick coupler is convertible to Category 4 or Category 4N. Use
Category 4 whenever possible, especially for heavy loads. Greater
width gives more strength.
NOTE: Your John Deere™ Dealer can supply parts to adapt
Category 4/4N quick coupler to Category 3 implements.
-
CAUTION: Use proper lifting device when converting coupler.
Failure to do so can result in personal injury.
Support center of quick coupler.
-
Remove pin retaining bolts (D) and pins from draft link.
-
Remove side member cap screws (B).
-
Switch ends with quick coupler side members (C) (left-hand member
to right-hand end and right-hand member to left-hand end). Tighten
cap screws to specification.
| Item | Measurement | Specification |
| Side Member-to-Crossbar Cap Screws |
|
Cap Screws | Torque | 425 N·m (315 lb·ft) |
-
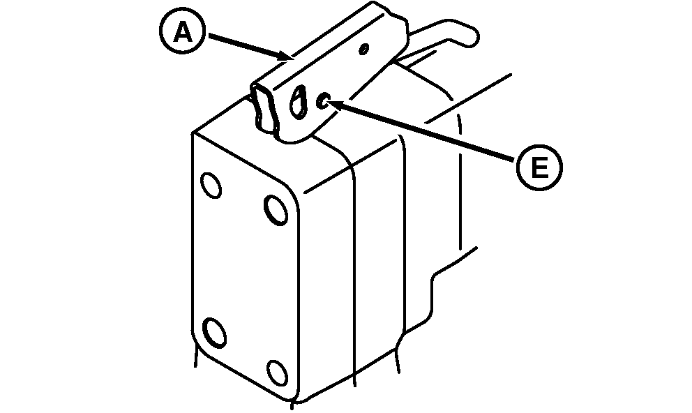
IMPORTANT: Lower coupler hook must be kept under pressure before
removing roll pin, to hold lock rod in place.
Flip latch handle around by removing roll pin (E).
-
Turn coupler latch handle (A) inward and reinstall roll pin
(E).
-
Flip handle down in lock position.
-

RXA0141815-UN-30MAY14
Draft Link Bumper
A - Retaining Cap Screw
B - Draft Link Bumper
Loosen draft link bumper retaining cap screw (A).
-
NOTE: Position thick ends (B) forward on draft links for Category
4 or thin ends back for Category 4N.
Adjust bumper by sliding on draft link on cap screw to desired
clearance position.
-
Tighten cap screw securely.
| Item | Measurement | Specification |
|
Tighten Cap Screw | Torque | 230 N·m (170 lb·ft) |
-
Perform same steps on opposite side for equal clearance between
sway blocks and bumpers.
-
Cycle hitch to ensure that there is no hitch interference.