Converting Category 4N/3 Convertible Quick Coupler Upper Hook
CAUTION: Use proper lifting device when converting coupler.
Failure to do so can result in personal injury.
NOTE: A second person is recommended to align components during
conversion. It is recommended to use Category 4 upper
hook if implement set up allows. The Category 3 upper hook may be
overloaded with very high draft loads.
-
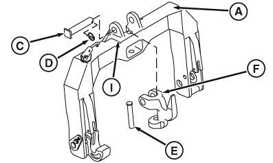
Support quick coupler frame (A).

RXA0142708-UN-17JUN14
Coupler

RXA0142706-UN-17JUN14
Center Link

RXA0142707-UN-17JUN14
Stored Upper Hook
A - Quick Coupler Frame
B - Center Link
C - Pin
D - Quick Lock Pin
E - Pin
F - Upper Hook
G - Stored Upper Hook
H - Pin
I - Shoulder
-
Remove quick lock pin (D) and pin (C) to release center link
(B).
-
Remove pin (E) and upper hook (F).
-
Remove pin (H) to remove stored upper hook (G) and replace with
upper hook previously removed from quick coupler.
NOTE: Pin (C) must be installed left to right. Shoulder (I)
will keep retaining pin (B) from being installed if pin (C) is installed
incorrectly.
-
Use reverse sequence of steps to remove upper hook from quick
coupler. Install previously stored upper hook into quick coupler.
|
|
TO84419,0000120-19-20150504
|
|