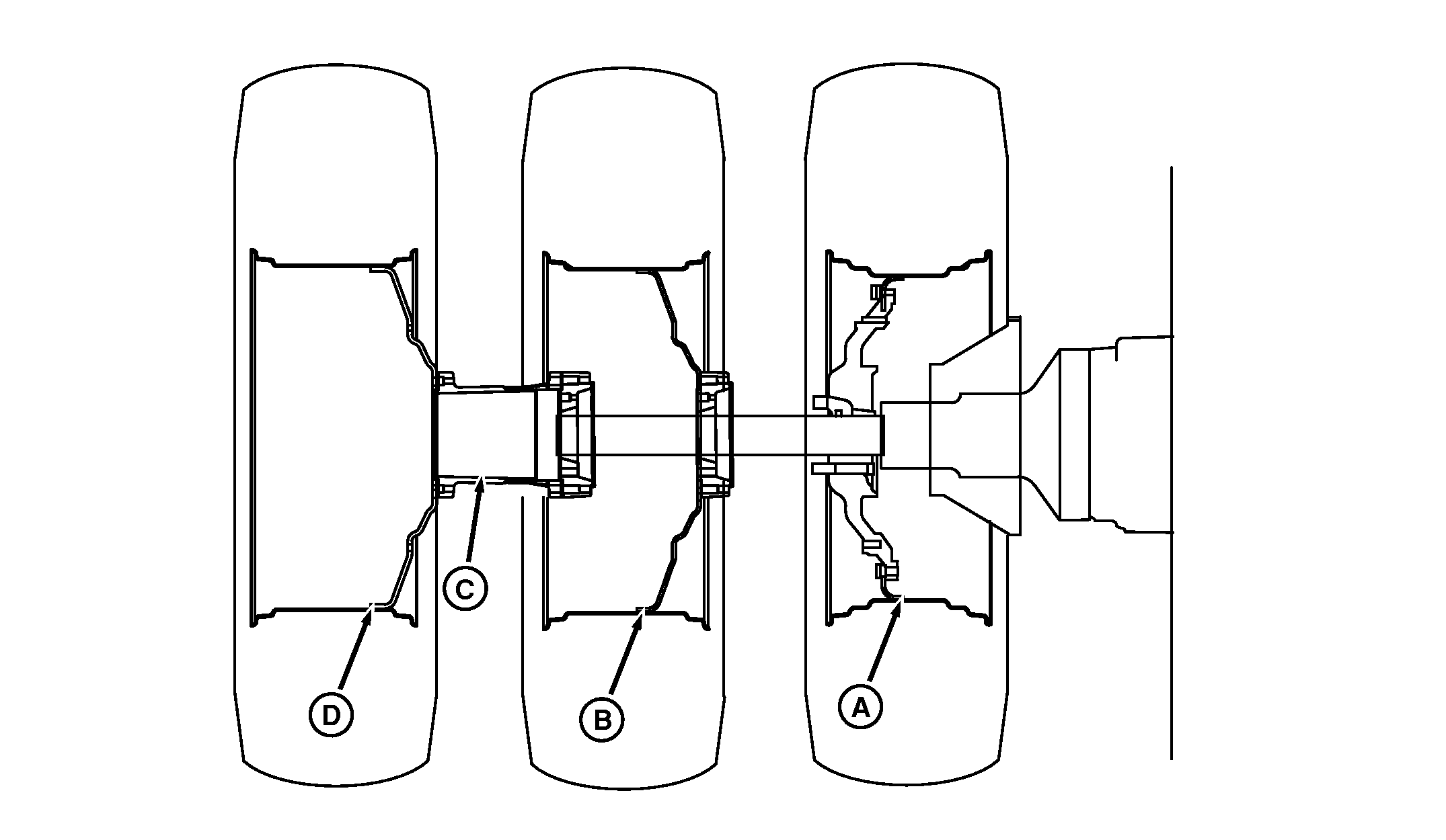
Triple Wheels (Heavy Duty Wheel Hubs)

RXA0073454-UN-13FEB04
Triple Wheels (Heavy Duty Wheel Hubs)
A - Inner Wheel
B - Dual Wheel
C - Hub Extension
D - Outer Wheel
See following pages for instructions on installing wheel hardware
and torque specifications.
|
|
TO84419,0000147-19-20120615
|
|