Service and Connect Snap to Connect STC® Fittings

RXA0080095-UN-31MAR05
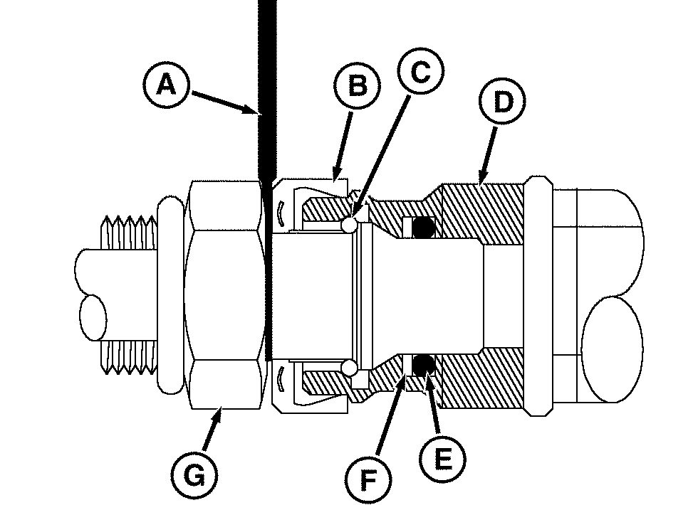
A - JDG1885 STC Tool
B - Release Ring
C - Retaining Ring
D - Female End (STC Fitting)
E - O-Ring
F - Backup Ring
G - Male End (STC Fitting)
CAUTION: Do not disconnect STC fitting when under pressure.
Failure to relieve pressure before disconnecting fitting may result
in personal injury, damage to equipment or both.
-
NOTE: Snap to Connect fittings are used on steel lines, hose
connections and come in a variety of sizes. JDG1885 STC tool (A) is
designed as a spacer to move release ring (B) inward which releases
retaining ring (C). JDG1885 STC tool can be purchased through your John Deere dealer.
IMPORTANT: Do not use tool to pry fittings apart. Prying with
tool may damage fitting and tool.
Insert correct STC tool between release ring and fitting.
-
Remove hose or line from connector.
NOTE: If retaining ring (C), backup ring (F) or O-ring (E) are
damaged, see your John Deere™ dealer for replacement kit and
replace all three parts.
Before connecting Snap to Connect Fitting:
-
Check mating surfaces for nicks, scratches or flat spots.
-
Check O-ring, backup ring and retaining ring for wear or damage.
-
Make sure female end (D) and male end (G) are clean and free
of contaminates.
-
Make sure release ring (B) is on male end fitting.
-
Push fitting halves together until a definite snap and solid
stop is felt.
-
Pull back on hose to make sure fitting halves are locked together.
|
STC is a registered trademark of Aeroquip
Corporation
John Deere
is a trademark of Deere & Company
|
TO84419,00001C6-19-20141029
|
|