Servicing Air Conditioner

causym CAUTION: Refrigerant under pressure. Improper servicing may cause refrigerant to penetrate eyes and skin or cause burns.

IMPORTANT: R134a refrigerant must be used. This requires special equipment and procedures. See your John Deere dealer.

NOTE: Some oil seepage from compressor shaft seal, on the lower front, is normal.

Check the following if air conditioner will not cool, or cooling is intermittent:

If air conditioner clutch slips after tractor has been in storage, compressor may be stuck. Stop engine and turn key switch to OFF position. Remove clutch cover. Rotate clutch hub back and forth to free compressor.

X9811

LV,5010S,AC -19-09SEP97-1/2


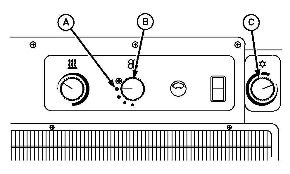
A/C dryer is located under right-hand floor plate. Remove right-hand crop guard to access sight glass. Run engine at 2000 rpm. Set air conditioner knob (C) to ON position and set blower control knob (B) to HIGH position (A). Check sight glass for bubbles. If bubbles do not disappear, system may be low on refrigerant. See your John Deere dealer.

NOTE: Bubbles may appear in sight glass when operating at temperatures below 18°C (65°F). This is normal. Bubbles will disappear as temperature rises.

If cooling is intermittent, clean front grille, side screens, radiator and condenser. (See procedure in this section.) If problem is not solved, see your John Deere dealer.

Inspect operator enclosure (cab) filters for restriction. Clean filters. (See procedure in Service-250 Hours section.) If problem persists, see your John Deere dealer to have evaporator core cleaned.

LV2001

Controls-Overhead Panel


A-High Position
B-Blower Control Knob
C-A/C Knob

LV,5010S,AC -19-09SEP97-2/2