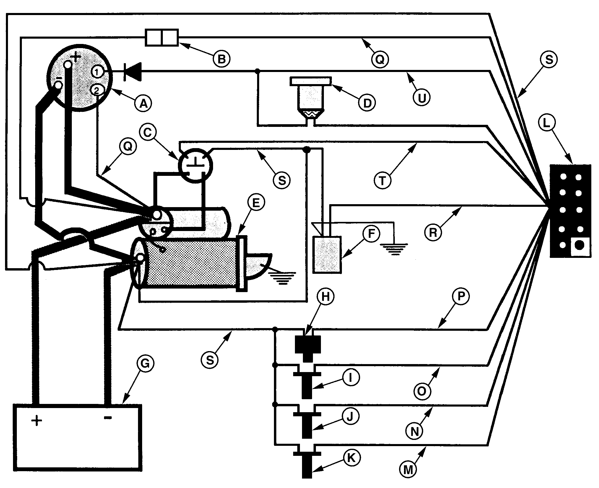
Propulsion Engine Wiring Harness - Mechanically Controlled Engine
(4045DFM70)

RG9862-UN-06JAN99
A - Alternator
B - 20-Amp Fuse with Holder
C - Start Circuit Relay
D - Fuel Filter/Water Separator
E - Starting Motor
F - Fuel Shut-Off Solenoid
G - Battery
H - Tachometer Pick-up
I - Coolant Temperature Sensor
J - Engine Oil Pressure Sensor
K - Spare Sensor
L - 10-Way Molded Connector
M - White
N - Lt. Blue
O - Tan
P - Gray
Q - Red
R - Black/Yellow
S - Black
T - Yellow/Red
U - Purple
|
|
OURGP11,000024C-19-20031105
|
|