Nepřibližujte se k rotujícím součástem
pohonu

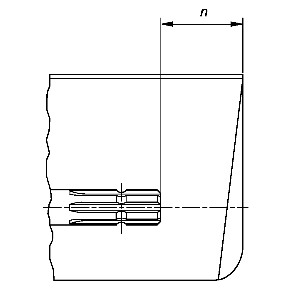
TS1644-UN-22AUG95

H96219-UN-29APR10
Zachycení rotujícím hnacím ústrojím
může mít za následek vážné
zranění nebo smrt.
Dbejte na to, aby byly kryty traktoru a hnacího ústrojí
stále na svých místech. Zkontrolujte, zda se
otočné ochranné kryty mohou volně otáčet.
Používejte hnací vývodový
hřídel jen s v hodnými ochrannými kryty.
Používejte přiléhavý oděv.
Před seřizováním, čištěním,
odpojováním a připojováním
nářadí poháněného vývodovým
hřídelem zastavte motor a vyčkejte, až
se pohyblivé díly stroje úplně zastaví.
Nemontujte mezi traktor a hlavní hnací vývodový
hřídel nářadí žádný
adaptér, umožňující pohánět
vývodovým hřídelem traktoru s 1000 ot/min
nářadí se jmenovitými 540 ot/min
při více než 540 ot/min.
Neinstalujte žádný adaptér, který
by umožnil, aby nebyla zakrytá část rotující
hřídele pracovního zařízení,
hřídele traktoru nebo adaptéru. Hlavní
kryt traktoru bude překrývat konec drážkového
hřídele a doplněný adaptér, viz
údaje v tabulce.
Úhel, ve kterém může být vývodový
hnací hřídel primárního nářadí
nahnutý, lze snížit v závislosti na tvaru
a velikosti hlavního krytu traktoru a na tvaru a velikosti
ochranného krytu hnacího vývodového hřídele
primárního nářadí.
Nezdvihejte nářadí do takové výšky,
ve které by mohlo poškodit hlavní kryt traktoru
nebo ochranný kryt hnacího hřídele primárního
nářadí. Pokud je nutné zvětšit
výšku nářadí, odpojte hnací
ústrojí vývodového hřídele.
(Viz část Připojení/opojení hnacího
ústrojí vývodového hřídele)
V případě vývodového hřídele
typu 3/4 je možné snížit náklon
a úhly otáčení v závislosti na
typu hlavního krytu vývodového hřídele
a ližin závěsu.
|
Typ vývodového hřídele
|
Průměr
|
Drážky
|
n ± 5 mm (0.20 in)
|
|
1
|
35 mm (1.378 in)
|
6
|
85 mm (3.35 in)
|
|
2
|
35 mm (1.378 in)
|
21
|
85 mm (3.35 in)
|
|
3
|
45 mm (1.772 in)
|
20
|
100 mm (4.00 in)
|
|
4
|
57.5 mm (2.264 in)
|
22
|
100 mm (4.00 in)
|
|