Koncovky hadic

LX006613
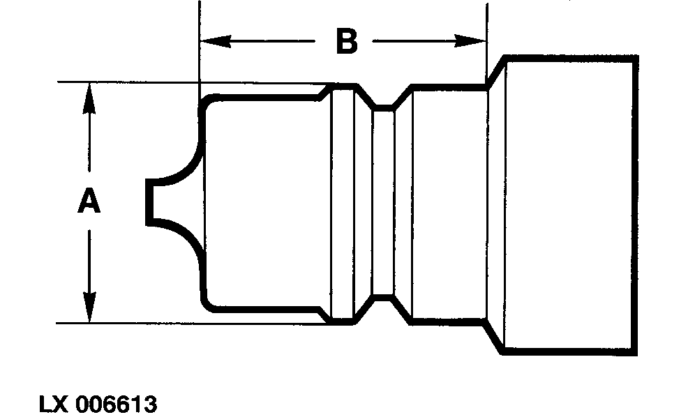
LX006613-UN-15AUG94

Koncovky hadic musí vyhovovat normám ISO.

Rozměr (A) musí být v rozsahu 23,66 a 23,74 mm (0.931 a 0.934 in.).

Rozměr (B) musí být minimálně 24 mm (0.945 in.).

JB06590,000059D-16-20090723