Tighten Bolts—Rear Axle (M-20 Stud)

PY4282-UN-06DEC04

PY1956-UN-12JAN04
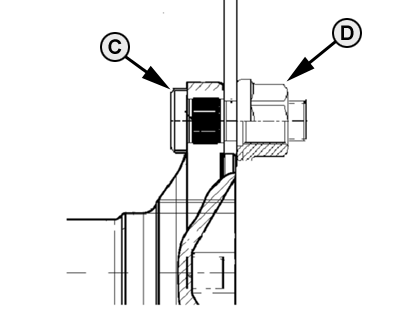
New Arrangement with M-20 Stud and Nut
A - Rim-to-Disk Bolts
B - Disk-to-Flange Bolts
C - Stud
D - Nut
Tighten bolts in the following locations to specifications:
| Item | Measurement | Specification |
|
Rear Axle Rim-to-Disk (Steel Disk) | Torque | 245 Nm (180 lb-ft) |
|
Rear Axle Disk-to-Flange (Steel Disk) | Torque | 550 Nm (406 lb-ft) |
|
|
PY80265,05GO886-19-20050910
|
|