Replacing Headlight Bulb
CAUTION: Halogen bulbs contain gas under pressure. Handling
a bulb improperly could cause it to shatter into flying fragments.
(See Handling Halogen Light Bulbs Safely in this section.)
-

LV12896-UN-05DEC06

LV9511-UN-01AUG04

LV9512-UN-01AUG04
A - Wiring Harness Plug
B - Dust Boot
C - Retaining Spring
D - Light Bulb
Raise hood and remove side screen panels.
-
Disconnect wiring harness plug (A).
-
Remove dust boot (B).
-
Unlatch retaining spring (C) and remove light bulb (D).
-
Install new bulb in reverse order of removal.
-
Adjust headlights, if necessary.
Adjust Headlight
-

PULV000659-UN-05MAY08
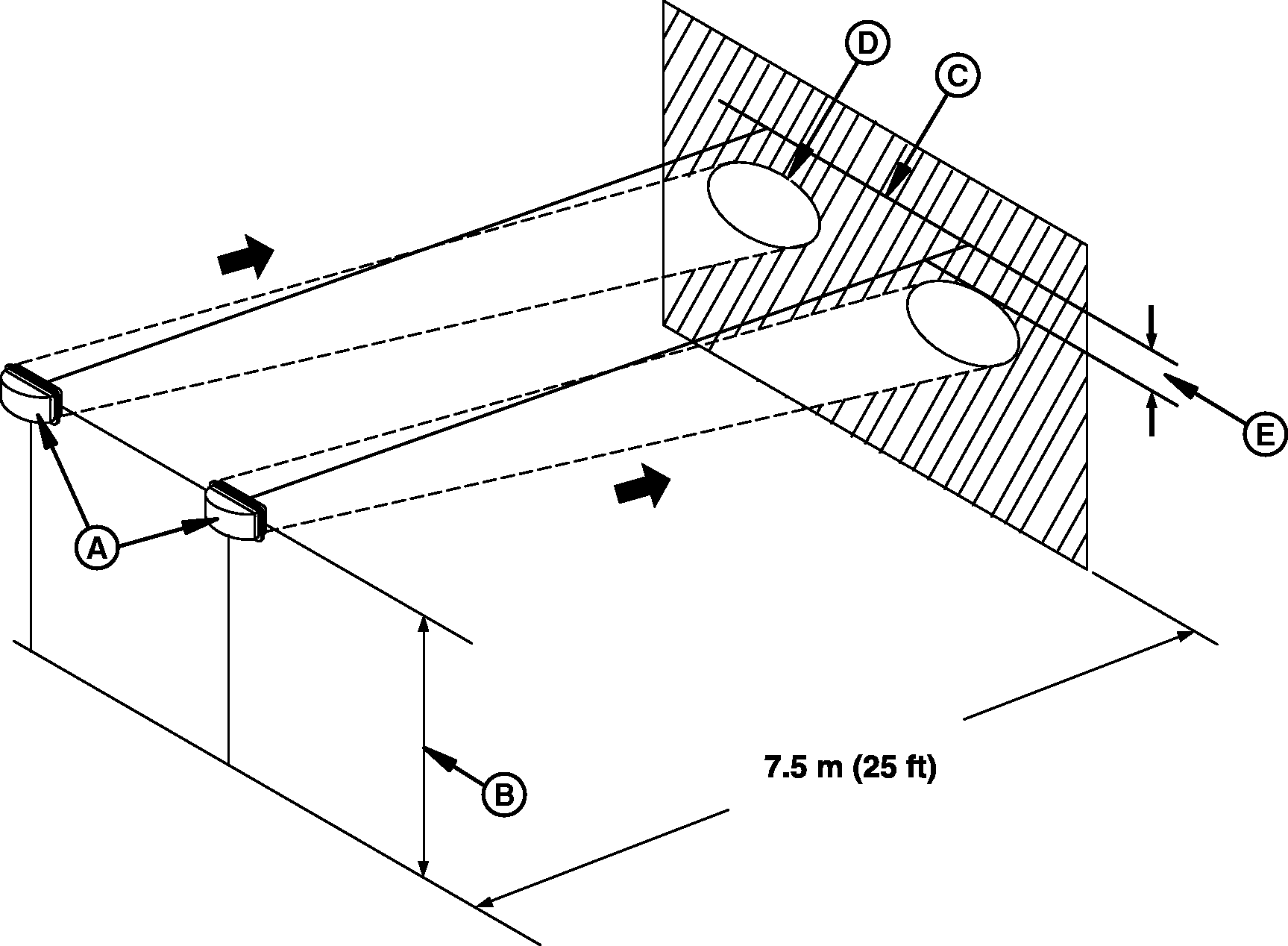
Headlight Aiming Diagram
A - Headlights
B - Distance from Center of Headlight to Ground
C - Horizontal Line on Wall
D - Border of Bright Area
E - 10% of Distance (B)
Park the tractor on a level surface with headlights (A) 7.5
m (25 ft) from a vertical wall.
-
Measure the distance (B) from the center of a headlight to the
ground.
-
Mark a horizontal line (C) on the wall, the same distance from
the ground as (B).
-
Set headlights on low beam and observe bright areas on the wall.
-
Use screws at the back of lights for adjustment.
|
|
JZ81662,0000813-19-20120309
|
|