Adjust Headlights

PY16265-UN-19JUL12
A - Headlight Mounting Screw
B - Headlight Mounting Screw
C - Headlight Mounting Screw
IMPORTANT: Apply penetrating spray lubricant to the threads
of top and bottom adjusting screws before starting procedure. If this
is not done, it will be quite hard to turn adjusting screws in either
direction.
-
Turn screws (A and B) counterclockwise to lower beam or clockwise
to raise beam.
-
Turn screws (A) counterclockwise and screws (B and C) clockwise
an equal number of turns on each screw.
-
Turn screws (B and C) counterclockwise and screws (A) clockwise
an equal number of turns on each screw.
Adjust Headlight
-

PULV000659-UN-05MAY08
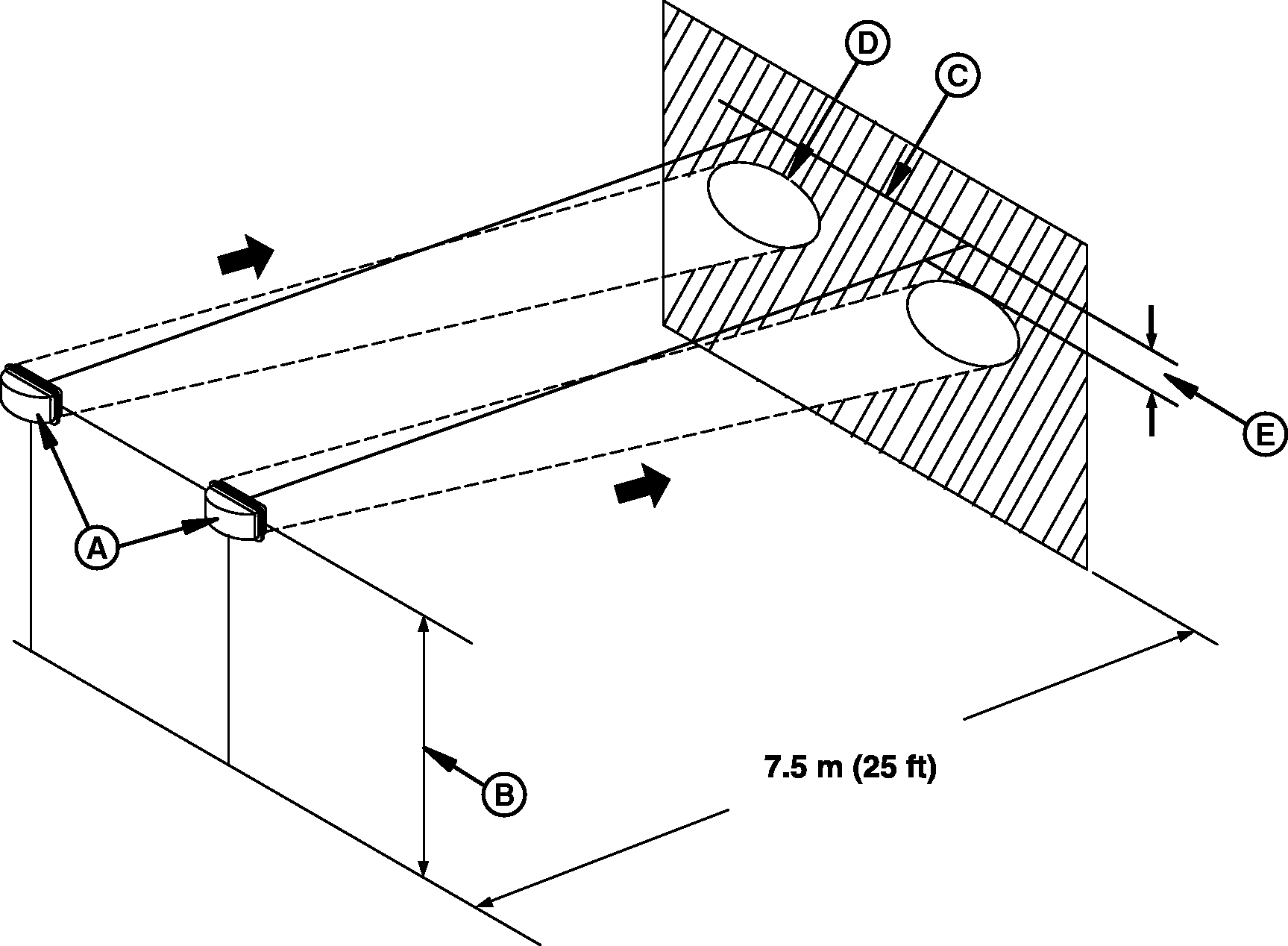
Headlight Aiming Diagram
A - Headlights
B - Distance from Center of Headlight to Ground
C - Horizontal Line on Wall
D - Border of Bright Area
E - 10% of Distance (B)
Park the tractor on a level surface with headlights (A) 7.5
m (25 ft) from a vertical wall.
-
Measure the distance (B) from the center of a headlight to the
ground.
-
Mark a horizontal line (C) on the wall, the same distance from
the ground as (B).
-
Set headlights on low beam and observe bright areas on the wall.
-
Use screws at the back of lights for adjustment.
|
|
SD74272,0000540-19-20130513
|
|