Driving on Public Roads
Driving on Public Roads — OOS

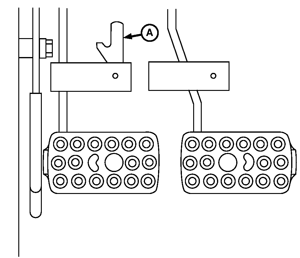
PY18355-UN-19MAR14
A - Brake Locking Bar
CAUTION: When transporting on a public road or highway, use
accessory lights and devices for adequate warning to operators of
other vehicles. Check local governmental regulations. Various safety
devices are available from your John Deere dealer. Keep safety items
in good condition. Replace missing or damaged items.
Observe the following precautions when operating the tractor
on the road:
-
Ballast tractor correctly.
-
Use foot throttle instead of hand throttle.
-
CAUTION: Before operating tractor on a road, lock brake pedals
together. Use brake lightly and cautiously at transport speeds.
Couple brake pedals together using brake locking bar (A). Avoid
hard applications of brakes. Reduce speed if towed load weighs more
than the tractor and is not equipped with brakes.
Use additional caution when transporting towed loads under adverse
surface conditions and when turning or braking on inclines. Be sure
wheel tread is adjusted wide to provide maximum stability.
IMPORTANT: To prevent unnecessary wear, never ride the brakes
by resting a foot on the pedals.
-

PY17922-UN-26AUG13

PY17923-UN-22MAR13

PY16152-UN-24JUL12
A - Reflex Reflector
B - Bright Headlights
C - Bright Headlights, Tail Lights and Warning Light
Position
D - Dim Headlights, Tail Lights and Warning Light Position
E - Turn Signal Lever
F - SMV Emblem
Check local laws and regulations for lighting requirements.
Be sure Slow Moving Vehicle (SMV) emblem (F) and warning lamps are
clean and visible. If towed or rear-mounted equipment obstructs these
safety devices, install SMV emblem and warning lamps on equipment.
(See your John Deere dealer)
A seven-terminal outlet at rear of tractor supplies power to
warning lights on towed or rear-mounted equipment. (See description
of outlet in Lights section.)
-
MFWD (if equipped): To reduce tire
wear, disengage front wheel drive.
-
Loader Cylinders (if equipped): Engage
transport lock to eliminate possibility of loader movement during
transport by inadvertently bumping the multi-function control lever.
-
Rear Hitch: Lock hitch in transport
position to eliminate the possibility of lowering an implement during
transport by inadvertently bumping the raise/lower lever.
-
Turn light switch to position (D).
Always turn light switch to dim lights position (D) when meeting
another vehicle. Never use any other lights which could blind or confuse
other drivers.
-
Use turn signal when turning. Be sure to return lever (E) to
center position after turning.
-
Drive slowly enough to maintain safe control at all times. Before
descending a hill, shift to a gear low enough to control speed without
using brakes. Slow down for rough ground, and sharp turns, especially
when transporting heavy, rear mounted equipment.
Driving on Public Roads — Cab

PY17963-UN-22MAR13
A - Brake Locking Bar
CAUTION: When transporting on a public road or highway, use
accessory lights and devices for adequate warning to operators of
other vehicles. Check local governmental regulations. Various safety
devices are available from your John Deere dealer. Keep safety items
in good condition. Replace missing or damaged items.
Observe the following precautions when driving tractor on roads:
-
Ballast tractor correctly.
-
Cab: Clean windows and adjust rear-view
mirrors.
-
Use foot throttle instead of hand throttle.
-
CAUTION:

P9915-UN-13NOV00
A - Brake Pedal Locking Bar
Before operating tractor on a road, lock brake pedals together.
Use brakes lightly and cautiously at transport speeds.
IMPORTANT: To prevent unnecessary wear, never “ride”
the brakes by resting a foot on the pedals.
Couple brake pedals together using brake pedal locking bar (A).
Avoid hard application of brakes. Reduce speed if towed load weighs
more than the tractor and is not equipped with brakes. (Consult implement
operator's manual for recommended transport speeds.)
Use additional caution when transporting towed loads under adverse
surface conditions and when turning or braking on inclines. Be sure
wheel tread is adjusted wide to provide maximum stability.
-

PY17964-UN-22MAR13

PY15186-UN-01JUN12

PY15187-UN-22JUN12
A - SMV Emblem
B - Warning Lights
C - Tail/Warning Lights
D - Turn Signal Lever
E - Road Lights
F - High/Low Beam Switch
Check local laws and regulations for lighting requirements.
Clean Slow Moving Vehicle (SMV) emblem (A), warning lights (B) and
tail/warning lights (C). If towed or rear-mounted equipment obstructs
view of safety devices, install SMV emblem and warning lights on equipment.
(See your John Deere dealer.)
A seven-terminal outlet at rear of tractor supplies power to
warning lights on towed or rear-mounted equipment. (See description
of outlet in Lights section.)
-
MFWD (if equipped): To reduce tire
wear, disengage front wheel drive.
-
Loader Cylinders (if equipped): Engage
transport lock to eliminate possibility of loader movement during
transport by inadvertently bumping the multi-function control lever.
-
Rear Hitch: Lock hitch in transport position to eliminate the
possibility of lowering an implement during transport by inadvertently
bumping the raise/lower lever.
-
Use turn signal lever (D) when turning. Return lever to center
position after turning.
-
Turn light switch to position (E).
-
Move switch (F) to low beam position (down) when meeting another
vehicle. Never use floodlights or any lights which could blind or
confuse other drivers.
-
Drive slowly to maintain safe control. Before descending a hill,
shift to a gear low enough to control speed without using brakes.
Slow down for rough ground and sharp turns, especially when transporting
heavy, rear-mounted equipment.
|
|
SD74272,0000488-19-20140319
|
|