Adjust Headlights

PY18068-UN-25MAR13
Right Side Headlight Shown
A - Top Adjusting Screws
B - Bottom Adjusting Screws
IMPORTANT: Apply penetrating spray lubricant to the threads
of top and bottom adjusting screws before starting procedure. If this
is not done, it will be quite hard to turn adjusting screws in either
direction.
-
To raise light beam, turn top adjusting screws (A) counterclockwise.
-
To lower light beam, turn top adjusting screws (A) clockwise.
-
To turn light beam inward, turn bottom adjusting screw (B) counterclockwise.
-
To turn light beam outward, turn bottom adjusting screw (B)
clockwise.
Adjust Headlight
-

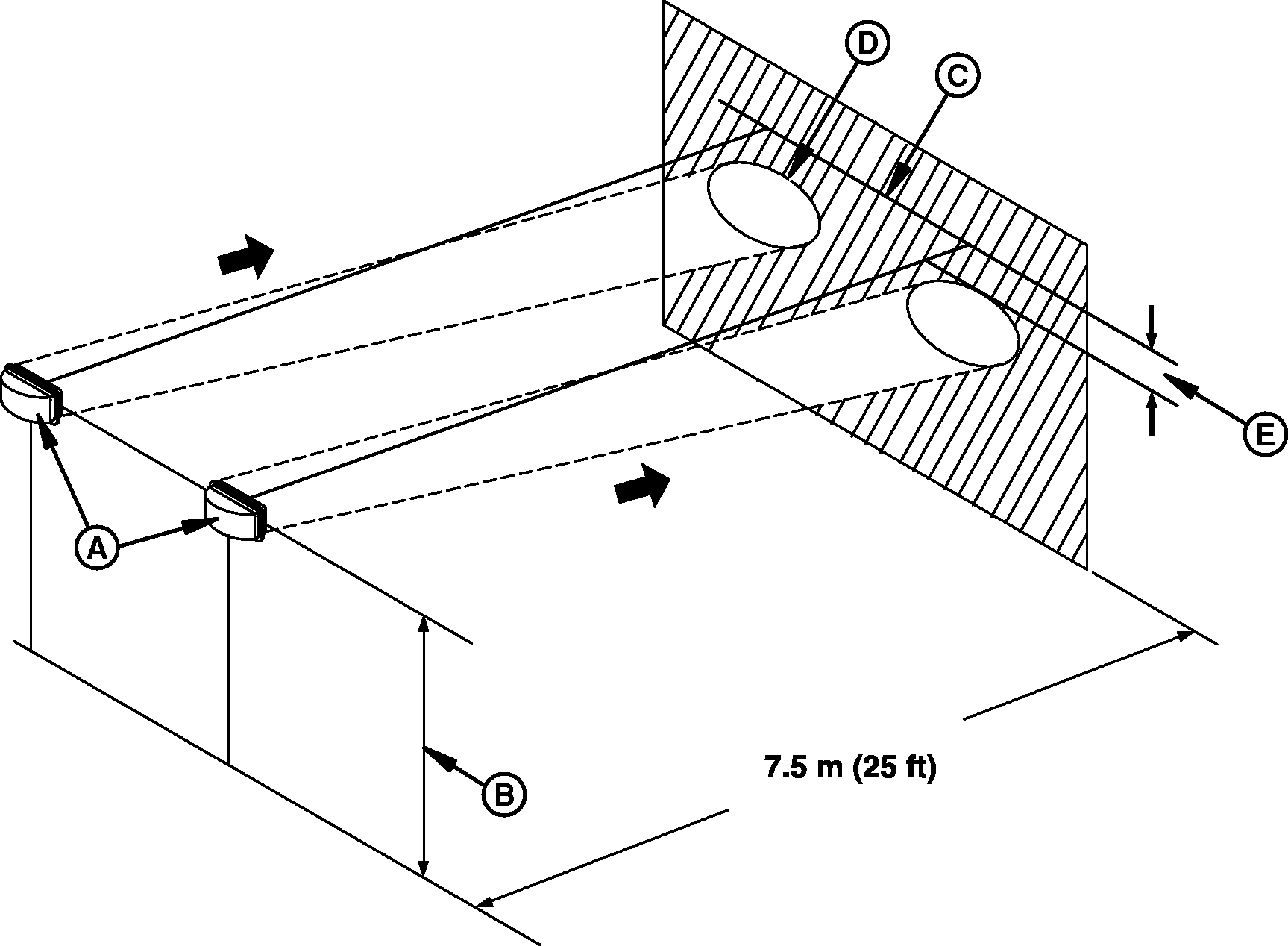
PULV000659-UN-05MAY08
Headlight Aiming Diagram
A - Headlights
B - Distance from Center of Headlight to Ground
C - Horizontal Line on Wall
D - Border of Bright Area
E - 10% of Distance (B)
Park the tractor on a level surface with headlights (A) 7.5
m (25 ft) from a vertical wall.
-
Measure the distance (B) from the center of a headlight to the
ground.
-
Mark a horizontal line (C) on the wall, the same distance from
the ground as (B).
-
Set headlights on low beam and observe bright areas on the wall.
-
Use screws at the back of lights for adjustment.
Aim Headlights
-

P9136-UN-22SEP00

LV3020-UN-10JUN99
A - Hood-to-Ground Distance
B - Masking Tape
C - Tractor Centerline
D - Center of Headlight
E - Top of Zone
F - Left Edge of Zone
Park tractor on level ground, with lights 8 m (25 ft) from
a wall.
-
Measure from top of hood to the ground (A). Place a strip of
masking tape (B) on the wall at the same height.
-
Place a piece of tape, folded in the middle to make a point,
on the top front center of the hood.
-
Using the hood tape as a guide, sight across steering wheel
and hood to locate tractor centerline. Mark tractor centerline (C)
on wall.
-
From tractor centerline (C), mark a point 130 mm (5 in.) out
in each direction (D). This mark locates a point directly in front
of each headlight center.
-
Turn light switch to road lights position, then set headlight
dimmer switch to low beam.
-
Locate small zone of bright light projected by each lamp. Cover
other lamps if necessary. Top of zone (E) should be 130 mm (5 in.)
below the tape. Left edge of zone (F) should be 130 mm (5 in.) left
of lamp location marked (D).
-
Adjust as necessary.
|
|
SD74272,00004EF-19-20130325
|
|