Circulación por vías públicas
Conducción por vías públicas
— Plataforma de conducción abierta

PY18463-UN-11JUL14
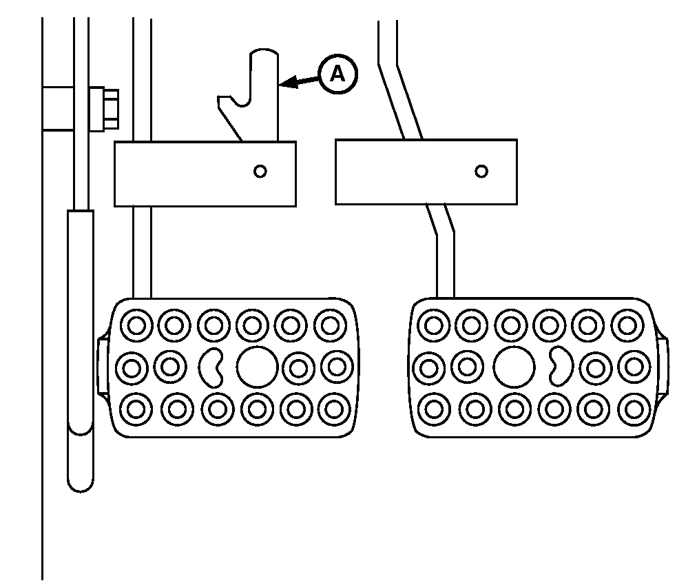
A - Barra de unión de frenos
ATENCIÓN: Usar luces y dispositivos auxiliares para advertir
de la presencia del tractor a los demás usuarios de las vías
al conducir por vías públicas o carretera. Consultar
la normativa local correspondiente. Su concesionario John Deere puede
ofrecerle diversos dispositivos de seguridad. Mantener en buen estado
los componentes relacionados con la seguridad. Sustituir los componentes
averiados o perdidos.
Para conducir el tractor por carretera, observe las siguientes
precauciones:
-
Lastrar el tractor correctamente.
-
Utilizar el pedal del acelerador en lugar de la palanca del
acelerador.
-
ATENCIÓN: Antes de conducir el tractor por carretera, unir los
pedales de freno uno al otro. Usar el freno suave y cuidadosamente
en velocidades de transporte.
Unir los pedales de freno por medio de la barra de bloqueo de
frenos (A). Evitar pisar los frenos bruscamente. Aminore la velocidad
si la carga remolcada pesa más que el tractor o si ésta
no tiene frenos propios.
Extremar las precauciones al remolcar cargas en condiciones
adversas del suelo, al virar o al frenar sobre desniveles. Asegurarse
de que el ancho de vía esté bien ajustado para proporcionar
máxima estabilidad.
IMPORTANTE: Para evitar desgastes innecesarios, nunca deberá
conducirse con el pie descansando sobre los pedales de freno.
-

PY18464-UN-11JUL14

PY18465-UN-11JUL14

PY18466-UN-11JUL14
A - Reflector Reflex
B - Luces largas y proyector
C - Posición de luces largas, luces traseras
y luces de advertencia
D - Posición de luces cortas, luces traseras
y luces de advertencia
E - Palanca de intermitentes de giro
Revisar la normativa local en materia de iluminación
del vehículo. Asegurarse de que la señal de vehículo
de movimiento lento y las luces de advertencia estén limpias
y visibles. Si el equipo remolcado o montado en la parte trasera impide
ver estos dispositivos de seguridad, colocar la señal de vehículo
de movimiento lento y las luces de advertencia en dicho equipo. (Acudir
al concesionario John Deere.)
Una toma eléctrica de siete polos en la parte trasera
del tractor suministra corriente a las luces del equipo remolcado
o suspendido en la parte trasera. Ver la descripción de la
toma auxiliar en "Equipo de luces".
-
TDM (si se incluye): Para prevenir
el desgaste de los neumáticos, no olvide desconectar la tracción
delantera.
-
Cilindros de la pala cargadora (si existen): Conecte el bloqueo de transporte para evitar que la cargadora se
mueva durante el transporte por golpear inintencionadamente la palanca
multifunción.
-
Enganche trasero: Bloquear el enganche
en la posición de transporte para descartar la posibilidad
de que el apero pueda descender durante el transporte en caso de golpear
accidentalmente la palanca de elevación/descenso.
-
Girar el interruptor de luces hasta la posición (D).
Gire siempre el interruptor a la posición de luces cortas
(D) al encontrarse con otro vehículo. Nunca use luces que puedan
cegar o confundir a otros conductores.
-
Cuando vaya a virar, usar los intermitentes de giro. Tras el
viraje, no olvide devolver la palanca (E) a la posición central.
-
Conducir a una velocidad lo suficientemente lenta como para
no perder nunca el control del vehículo. Antes de bajar una
pendiente, cambie a una marcha suficientemente baja para controlar
la velocidad sin usar los frenos. Aminorar la velocidad en terreno
irregular y al tomar curvas cerradas, especialmente al transportar
aperos pesados suspendidos atrás.
Conducción por vías públicas
— Cabina

PY16577-UN-13AUG12
A - Barra de unión de frenos
ATENCIÓN: Usar luces y dispositivos auxiliares para advertir
de la presencia del tractor a los demás usuarios de las vías
al conducir por vías públicas o carretera. Consultar
la normativa local correspondiente. Su concesionario John Deere puede
ofrecerle diversos dispositivos de seguridad. Mantener en buen estado
los componentes relacionados con la seguridad. Sustituir los componentes
averiados o perdidos.
Observe las siguientes precauciones cuando conduzca el tractor
en carretera:
-
Lastre el tractor correctamente.
-
Cabina: Ajuste los retrovisores y
limpie las ventanas.
-
Utilice el pedal del acelerador en lugar del acelerador de mano.
-
ATENCIÓN:

P9915-UN-13NOV00
A - Barra de unión de los pedales de freno
Antes de conducir el tractor por carretera, unir los pedales
de freno uno al otro. Usar los frenos suavemente y con cuidado al
circular a velocidades de transporte.
IMPORTANTE: A fin de evitar desgastes innecesarios, no conducir
con el pie apoyado sobre el pedal de freno.
Una los pedales de freno por medio de la barra que une un pedal
al otro (A). Evitar aplicar los frenos bruscamente. Aminore la velocidad
si la carga remolcada pesa más que el tractor o si ésta
no tiene frenos propios. (Consulte las velocidades de transporte recomendadas
en el manual de uso del apero).
Extremar las precauciones al remolcar cargas en condiciones
adversas del suelo, al virar o al frenar sobre desniveles. Asegurarse
de que el ancho de vía esté bien ajustado para proporcionar
máxima estabilidad.
-

PY16578-UN-10AUG12

PY16579-UN-10AUG12
A - Luces traseras
B - Intermitentes de giro
C - Palanca de intermitentes de giro
D - Posición de luces cortas
E - Posición de luces largas
Informarse sobre las luces que exigen las leyes y normativas
de tráfico locales. Asegurarse de que los intermitentes de
giro (B) y las luces traseras (A) estén limpios y visibles.
Una toma eléctrica de siete polos en la parte trasera
del tractor suministra corriente a las luces del equipo remolcado
o suspendido en la parte trasera. Ver la descripción de la
toma auxiliar en "Equipo de luces".
-
TDM (si se incluye): Para prevenir
el desgaste de los neumáticos, no olvide desconectar la tracción
delantera.
-
Cilindros de la pala cargadora (si existen): Conecte el bloqueo de transporte para evitar que la cargadora se
mueva durante el transporte por golpear inintencionadamente la palanca
multifunción.
-
Enganche trasero: Bloquear el enganche en la posición
de transporte para descartar la posibilidad de que el apero pueda
descender durante el transporte en caso de golpear accidentalmente
la palanca de elevación/descenso.
-
Poner el interruptor de luces en la posición (E).
Gire siempre el interruptor de luces a la posición de
luces cortas (D) al encontrarse con otro vehículo. No usar
nunca proyectores u otras luces que puedan deslumbrar o confundir
a otros conductores.
-
Después de virar, no olvidar volver a poner la palanca
(C) de los intermitentes de giro en su posición central.
-
Conducir lentamente para no perder el control del vehículo.
Antes de bajar una pendiente, cambie a una marcha suficientemente
baja para controlar la velocidad sin usar los frenos. Aminorar la
velocidad en terreno irregular y al tomar curvas cerradas, especialmente
al transportar aperos pesados suspendidos atrás.
|
|
SD74272,0000041-63-20140707
|
|