-
Ballast tractor correctly.
-
Cab: Clean windows and adjust rear-view
mirrors.
-
Use foot throttle instead of hand throttle.
-
CAUTION:

P9915-UN-13NOV00
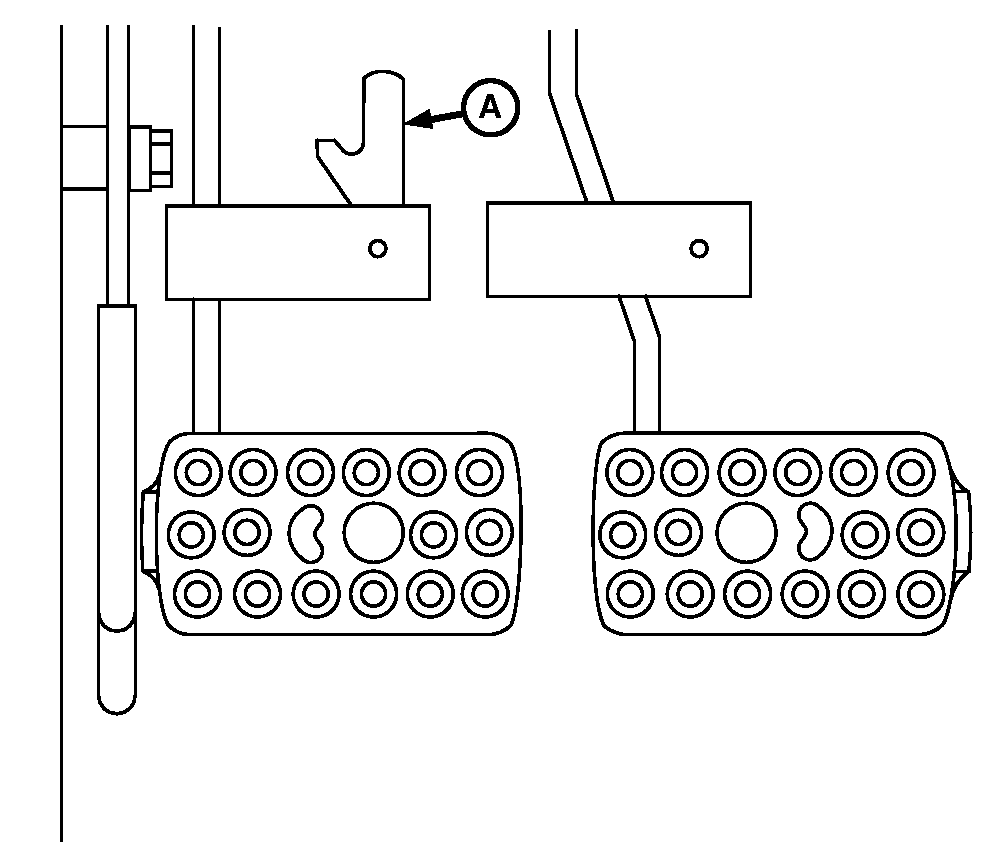
A - Brake Pedal Locking Bar
Before operating tractor on a road, lock brake pedals together.
Use brakes lightly and cautiously at transport speeds.
IMPORTANT: To prevent unnecessary wear, never “ride”
the brakes by resting a foot on the pedals.
Couple brake pedals together using brake pedal locking bar (A).
Avoid hard application of brakes. Reduce speed if towed load weighs
more than the tractor and is not equipped with brakes. (Consult implement
operator's manual for recommended transport speeds.)
Use additional caution when transporting towed loads under adverse
surface conditions and when turning or braking on inclines. Be sure
that wheel tread is adjusted wide to provide maximum stability.
-

PY16578-UN-10AUG12

PY16579-UN-10AUG12
A - Tail Lights
B - Turn Signal Lights
C - Turn Signal Lever
D - Low Beam Headlight Position
E - High Beam Headlight Position
Check local laws and regulations for lighting requirements.
Be sure turn signal lights (B) and tail lights (A) are clean and visible.
A seven-terminal outlet at rear of tractor supplies power to
warning lights on towed or rear-mounted equipment. (See description
of the outlet in the Lights section.)
-
MFWD (if equipped): To reduce tire
wear, disengage front wheel drive.
-
Loader Cylinders (if equipped): Engage
transport lock to eliminate possibility of loader movement during
transport by inadvertently bumping the multi-function lever.
-
Rear Hitch: Lock hitch in transport position to eliminate the
possibility of lowering an implement during transport by inadvertently
bumping the raise/lower lever.
-
Turn light switch to position (E).
Always turn the light switch to low beam headlight position
(D) when meeting another vehicle. NEVER use worklight or any other
lights which could blind or confuse other drivers.
-
Using turn signals when turning, be sure to return turn signal
lever (C) to center position after turning.
-
Drive slowly to maintain safe control. Before descending a hill,
shift to a gear low enough to control speed without using brakes.
Slow down for rough ground and sharp turns, especially when transporting
heavy, rear-mounted equipment.