-

PY22506-UN-01JAN15

PY22505-UN-01JAN15

PY22507-UN-01JAN15
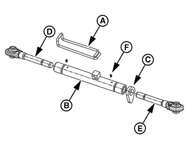
A - Self Locking Spring
B - Turnbuckle Assembly
C - Counter Nut
D - Tie Rod (LH)
E - Tie Rod (RH)
F - Grease Nipple
G - Pin
H - Lift Link (RH)
Lower implement to take weight off hitch.
IMPORTANT: Do not attempt to over extend center link beyond
limits of locking clip or lift links past the stops. Link body threads
could be damaged.
NOTE: Maximum adjustment range of the center link can only obtained
if the ends are positioned equally within the body when attached to
an implement.
-
Adjust center link to level implement front-to-rear. Unlatch
self locking spring (A). Rotate center link body (B) clockwise to
lengthen center link or counterclockwise to shorten it. Be sure to
latch the self locking spring.
NOTE: Unlock center link with the help of counter nut (C) to
shorten or lengthen center link body (B) and lock once the center
link body length adjusted.
-
The right-hand lift link is also adjustable in length to accommodate
different tire sizes.
To change the right-hand lift link length, loose the nut (L)
and rotate the turnbuckle (H) assembly clockwise to shorten or counterclockwise
to lengthen, and then tight the nut (L).
NOTE: Pin position should be always vertically downwards.
-
Adjust left and right lift links to accommodate various tire
sizes. Set the lift links to accommodate various tire sizes. Set the
lift links to have fully-lowered draft link balls approximately seven
inches off the ground for greatest range of usable hitch motion.