Replace Fuel Filter
Replace the fuel filter at specified intervals to prevent contaminants
from adversely affecting the diesel fuel flow.
-

PY22090-UN-08DEC14
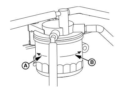
A - Clockwise
B - Anti-clockwise
Stop the engine and allow it to cool.
-
Close the fuel cock of the fuel filter.
-
Remove the fuel filter using a filter wrench to turn it to the
left (A) as shown. When removing the fuel filter, carefully hold it
to prevent the fuel from spilling. Wipe up all spilled fuel.
-
Clean the filter mounting surface and apply a small amount of
diesel fuel to the gasket of the new fuel filter.
-
Install the new fuel filter. Hand-tighten it to the right (B)
until it comes in contact with the mounting surface. Use a filter
wrench and tighten to 14 - 17 ft-lb (19.6 - 23.5 N·m, 2.0
- 2.4 kgf/m) or one additional turn using the filter wrench.
-
Open the fuel cock of the fuel filter.
-
Prime the fuel system.
-
Check for fuel leaks.
|
|
RA84036,0000396-19-20150618
|
|