Periodically clean the water separator element and inside the
cup.
-

PY22091-UN-09DEC14

PY22092-UN-09DEC14
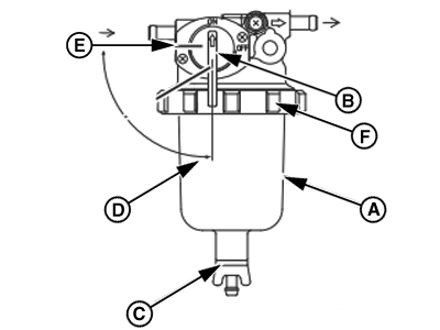
A - Cup, Water Separator
B - Fuel Cock
C - Drain Cock
D - Fuel Cock - ON
E - Fuel Cock - OFF
F - Retaining Ring
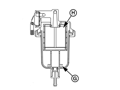
G - Float Ring
H - Element, Cup
Position an approved container under the cup of water separator
(A) to collect the contaminants.
-
Turn the fuel cock (B) from ON position (D) to OFF position
(E).
-
Loosen the drain cock (C) and drain the contaminants.
-
Turn the retaining ring (F) to the left and remove the cup as
shown.
-
Carefully hold the cup of water separator to prevent fuel from
spilling. If you spill any fuel, clean up the spill completely.
-
Remove the float ring from the cup. Pour the contaminants into
the container and dispose of it properly.
-
Clean the element (H) and inside cup of water separator. Replace
the element if it is damaged.
-
Install the element (H) and O-ring in the bracket.
-
Position the float ring in the cup of water separator.
-
Check the condition of the O-ring. Replace if necessary
-
Install the cup to the bracket by tightening the retaining
ring to the right to 11 - 15 ft-lb (15 - 20 N·m, 1.5 - 2.0
kfg/m).
-
Close the drain cock (C).
-
Open the fuel cock (B).