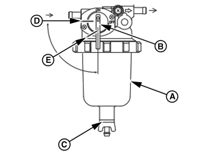
Drain Water Separator

PY22067
PY22067-UN-05JAN15

PY22082
PY22082-UN-04DEC14

A - Water Separator

B - Fuel Cock

C - Drain Cock

D - Fuel Cock - OFF

E - Fuel Cock - ON


  1. Position an approved container under the water separator (A) to collect the contaminants.

  2. Close the fuel cock (B) to OFF position (D).

  3. Loosen the drain cock (C) at the bottom of the water separator. Drain any water collected inside.

  4. Hand-tighten the drain cock (C).

  5. Open the fuel cock (B) to ON position (E).

RA84036,00003A1-19-20150618