Abstand zu rotierenden Antriebswellen halten

TS1644-UN-22AUG95

H96219-UN-29APR10
Unachtsamkeit im Bereich sich drehender Antriebswellen kann
schwere oder tödliche Verletzungen zur Folge haben.
Alle Schutzvorrichtungen am Traktor und der Antriebwelle müssen
in Ordnung und an der betreffenden Stelle richtig angebracht sein.
Sicherstellen, dass rotierende Schutzvorrichtungen sich frei drehen
können.
Antriebswellen für Zapfwellen nur mit entsprechenden Schutzeinrichtungen
verwenden.
Eng anliegende Kleidung tragen. Vor der Einstellung und Reinigung
sowie dem An- und Abkoppeln von zapfwellenbetriebenen Geräten,
Motor abstellen und den Stillstand aller beweglichen Maschinenteile
abwarten.
Keinen Adapter zwischen dem Traktor und dem Zapfwellenantrieb
des Hauptanbaugeräts anbringen, mit dem eine 1000-1/min-Traktorwelle
ein für 540 1/min ausgelegtes Anbaugerät mit Drehzahlen
von mehr als 540 1/min antreiben kann.
Keinen Adapter einbauen, der dazu führt, dass ein Teil
der rotierenden Wellen von Anbaugerät, Traktor oder Adapter frei
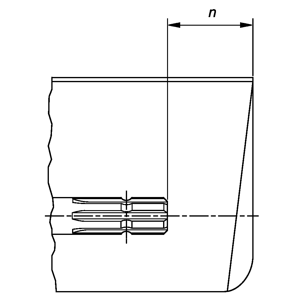
liegt. Der Schutzschild des Traktors muss das Ende der gezahnten Welle
sowie den angebauten Adapter der Tabelle entsprechend überragen.
Je nach Schutzschild des Traktors sowie Form und Größe
des Schutzes am Zapfwellenabtrieb des Anbaugeräts kann der Neigewinkel
des Zapfwellenabtriebs kleiner werden.
Anbaugeräte nicht so weit anheben, dass der Schutzschild
des Trakors oder der Schutz am Zapfwellenabtrieb des Anbaugeräts
Schaden nehmen können. Die Antriebswelle für Anbaugerät
ggf. trennen, um das Anbaugerät weiter anzuheben. (Siehe Antriebswelle
für Anbaugerät verbinden/trennen)
Bei Verwendung einer Zapfwelle Typ 3/4 können die Schwenk-
und Neigewinkel je nach Bauart des Schutzschilds am Traktor und der
Kupplungen reduziert werden.
|
Zapfwellentyp
|
Durchmesser
|
Verzahnung
|
n ±5 mm (0,20 in)
|
|
1
|
35 mm (1.378 in.)
|
6
|
85 mm (3.35 in.)
|
|
2
|
35 mm (1.378 in.)
|
21
|
85 mm (3.35 in.)
|
|
3
|
45 mm (1.772 in.)
|
20
|
100 mm (4.00 in.)
|
|
4
|
57.5 mm (2.264 in.)
|
22
|
100 mm (4.00 in.)
|
|