Hydraulisches Anhängerbremsventil (falls vorhanden)

PY41951-UN-29AUG17
Hydraulisches Anhängerbremsventil
A - Anhängerbremsventil
B - Staubschutzstopfen, Zusatzleitung
C - Anschluss, Zusatzleitung
D - Staubschutzstopfen, Steuerleitung
E - Anschluss, Steuerleitung
-
Staubschutzstopfen (B und D) vom Zusatzleitungs-Anschluss (C)
und Steuerleitungs-Anschluss (E) am Anhängerbremsventil (A) entfernen
(siehe Abbildung).
-
Druckschläuche der Anhängerbremse am Zusatzleitungs-Anschluss
(C) und Steuerleitungs-Anschluss (E) anschließen und dabei sicherstellen,
dass sämtliche Anschlüsse sauber sind und ordnungsgemäß
angeschlossen werden.
-
Die Bremspedale betätigen, um die hydraulische Anhängerbremse
zu betätigen. Die Bremswirkung hängt vom Druck auf die Bremspedale
ab.
ACHTUNG: Niemals schneller als 25 km/h (15 mph) fahren, wenn
ein Anhänger mit hydraulischen Bremsen angehängt ist.
WICHTIG: Um übermäßige Abnutzung der Bremsen
zu vermeiden, Folgendes beachten: Sicherstellen, dass
der Druckschlauch richtig angeschlossen ist.
Beim Bergabfahren den gleichen Gang wählen wie beim Bergauffahren.
Die hydraulische Anhängerbremse regelmäßig prüfen,
um sicherzustellen, dass sie einwandfrei funktioniert.
Anhängerbremsventil – Funktion/Betriebsfluss
-
Das Anhängerbremsventils dient zur Annahme des höheren
Drucks von Betriebs- und Sekundärbremsdruck und zur Weiterleitung
dieses Drucks an Anhängerbremse.
-
Diese Ventile müssen bei Anhänger mit normalen Bremsen
verwendet werden.
-
Bei einem Defekt der Steuerleitung fällt der Druck in der
Zusatzleitung bei vollständiger Betätigung der Betriebsbremsen-Steuerung
innerhalb von 2 Sekunden auf 10 bar; wenn die Betriebsbremsen-Steuerung
freigegeben wird, wird die Zusatzleitung wieder mit Druck beaufschlagt.
-
Der Hauptsteuerschieber der Steuerung muss durch ein hydraulisches
Steuerventil betätigt werden.
-
Das Ventil hat eine “Plug&Brake”-Bauweise.
HINWEIS:

PY41852-UN-14AUG17
Steuerleitung Schlauchverbindung (ISO 5676)
D1 - Ø 16,5 + 0,01 (mm)
D2 - Ø 30 (mm)
D3 - Ø 16,4 - 0,01 (mm)
D4 - Ø 30 (mm)
1. Steuerleitung Schlauchverbindung muss ISO 5676 entsprechen.

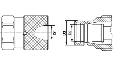
PY41853-UN-14AUG17
Zusatzleitungs-Schlauchverbindung (ISO 16028 Größe
10)
D1 - Ø min 12,50, max 12,57 (mm)
D2 - Ø min 16,10, max 16,20 (mm)
D3 - Ø min 12,65, max 12,70 (mm)
2. Zusatzleitungs-Schlauchverbindung muss ISO 16028 Größe
10 entsprechen.
|
|
NM61126,00004EE-29-20170829
|
|