Replace Fuel Filter
Replace the fuel filter at specified intervals to prevent contaminants
from adversely affecting the diesel fuel flow.
-

PY22090-UN-08DEC14
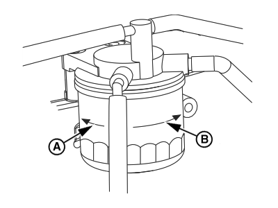
A - Clockwise
B - Counterclockwise
Stop the engine and allow it to cool.
-
Close the fuel cock of the fuel filter.
-
Remove the fuel filter using a filter wrench to turn it to the
left clockwise (A) as shown. When removing the fuel filter, carefully
hold it to prevent the fuel from spilling. Wipe up all spilled fuel.
-
Clean the filter mounting surface and apply a small amount of
diesel fuel to the gasket of the new fuel filter.
-
Install the new fuel filter. Hand tighten it to the right counterclockwise
(B) until it comes in contact with the mounting surface. Use a filter
wrench and tighten to 19.6 - 23.5 N·m (14 - 17 lb·ft , 2.0 - 2.4 kgf/m)
or one additional turn using the filter wrench.
-
Open the fuel cock of the fuel filter.
-
Prime the fuel system.
-
Check for fuel leaks.
|
|
DP97633,000002E-19-20180213
|
|