Drain Water Separator

PY45763
PY45763-UN-24AUG17

A - Water Separator

B - Fuel Cock

C - Drain Cock


PY22082
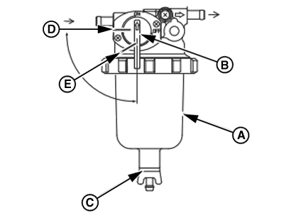
PY22082-UN-04DEC14

A - Water Separator

B - Fuel Cock

C - Drain Cock

D - Fuel Cock-OFF

E - Fuel Cock-ON


  1. Place an approved container under the water separator (A) to collect the contaminants.

  2. Close the fuel cock (B) to OFF position (D).

  3. Loosen the drain cock (C) given at the bottom of the water separator (A). Drain any water collected inside.

  4. Hand tighten the drain cock (C).

  5. Open the fuel cock (B) to ON position (E).

DP97633,00001B9-19-20180712