Periodically clean the water separator element and also inside
the cup.
-

PY22091-UN-09DEC14

PY22092-UN-09DEC14
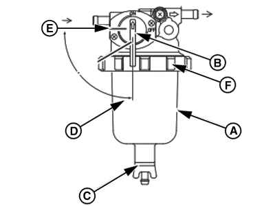
A - Cup, Water Separator
B - Fuel Cock
C - Drain Cock
D - Fuel Cock-ON
E - Fuel Cock-OFF
F - Retaining Ring
G - Float Ring
H - Element, Cup
Position an approved container under the cup of water separator
(A) to collect the contaminants.
-
Turn the fuel cock (B) from ON position (D) to OFF position
(E).
-
Loosen the drain cock (C) and drain the contaminants.
-
Turn the retaining ring (F) to the left and remove the cup.
-
Carefully hold the cup of water separator (A) to prevent fuel
from spilling. If you spill any fuel, clean up the spill completely.
-
Remove the float ring from the cup. Pour the contaminants into
the container and dispose of it properly.
-
Clean the element (H) and inside cup of water separator (A).
Replace the element (H) if it is damaged.
-
Install the element (H) and O-ring in the bracket.
-
Position the float ring (G) in the cup of water separator (A).
-
Check the condition of the O-ring. Replace if necessary.
-
Install the cup to the bracket by tightening the retaining ring
(F) to the right to 15 - 20 N·m (11 - 15 lb·ft, 1.5 - 2.0 kgf/m).
-
Close the drain cock (C).
-
Open the fuel cock (B).