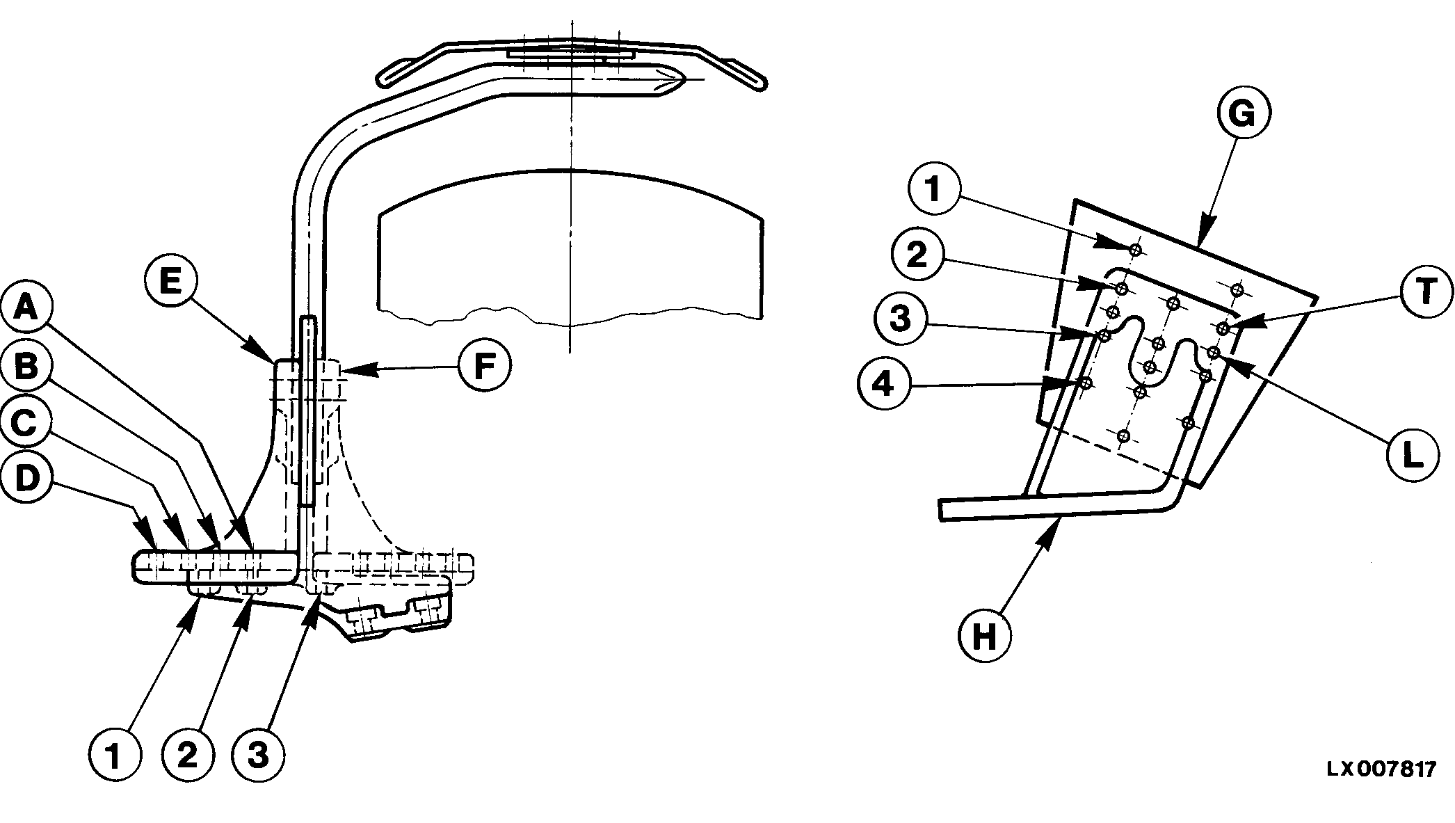
Front Fender Adjustment (MFWD Axle)

LX007817


E-Bracket Facing Out
F-Bracket Facing In
G-Fender
H-Bracket

Fenders must be installed in correct position depending on tire size and tread width. Fender width is 400 mm (15.7 in.). The following table indicates correct position for a given tire size, wheel and rim disk position.

Explanation of Table Positions

D-2 -Indicates which holes (1, 2, or 3 and A, B, C or D) are bolted together.

NOTE: Every time bracket position is reversed, left-hand side bracket must be installed on right-hand side of tractor and vice versa.

L/2 -Shows whether upper (T) or lower (L) bracket holes must be used, together with corresponding holes (1, 2, 3 or 4) in fender.

NOTE: Upper holes (T) in bracket are not used in this particular machine and tire sizes.

Fender Position and Height -indicates correct fender position and height on axle, for example : D-2 , L3.

P15337

NS43404,00004BB -19-28MAR08-1/2


Position of Adjustable Rims and Wheel Disks
    A B C D E F G
Tire Size                
13.6-24 Fender Position N/A A-2, L/3 B-3, L/3 B-1, L/3 B-2, L/3 D-2, L/3 C-3, L/3
14.9-24 Fender Position N/A N/A B-3, L/4 A-3, L/4 C-1, L/4 A-3, L/4 C-3, L/4

 

NS43404,00004BB -19-28MAR08-2/2