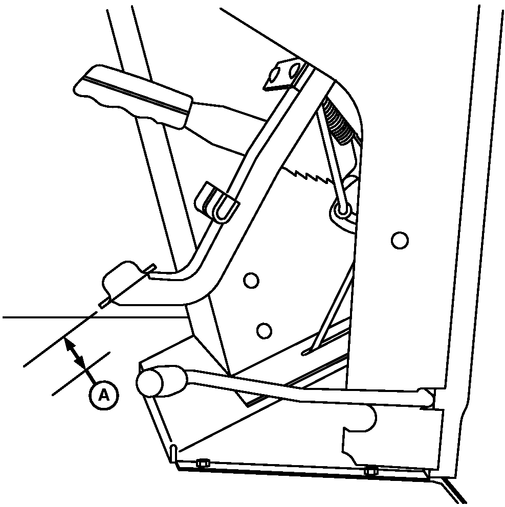
Adjust Brake Pedal Free Travel

Service Interval-250 Hours

 

1. Park on level surface. Chock wheels to prevent machine movement.

2. Unlock brake pedals.

3. Apply approximately 10 kg (20 lb) force on one brake pedal and measure distance (A) between engaged pedal and disengaged pedal. If free travel is not within specification, adjust linkage.

Specification

Brake Pedal -Free Travel 70 ±3 mm (2.75 ±0.12 in.)

4. Adjust each brake pedal separately. Each side of tractor has an adjustment rod with turnbuckle and jam nuts. To adjust linkage, on each side of turnbuckle (C).

a. Loosen jam nuts (B).

b. Rotate turnbuckle (C) as needed to increase or decrease tension on adjustment rod in order to obtain free travel specification.

c. Tighten jam nuts.

5. Repeat on opposite side.


A-Brake Pedal Travel
B-Jam Nuts
C-Turnbuckle

P9095
P11553

Left-Hand Side Shown

NS43404,00004E0 -19-13FEB08-1/1