Adjust Clutch Pedal Free Travel-Mechanical Activated Clutch

Service Interval-Weekly/50 Hours

 

IMPORTANT: The adjustment of the cable attached to the clutch pedal has been set by the factory and does not require further adjustment during the life of the tractor, unless the cable is removed or disconnected.

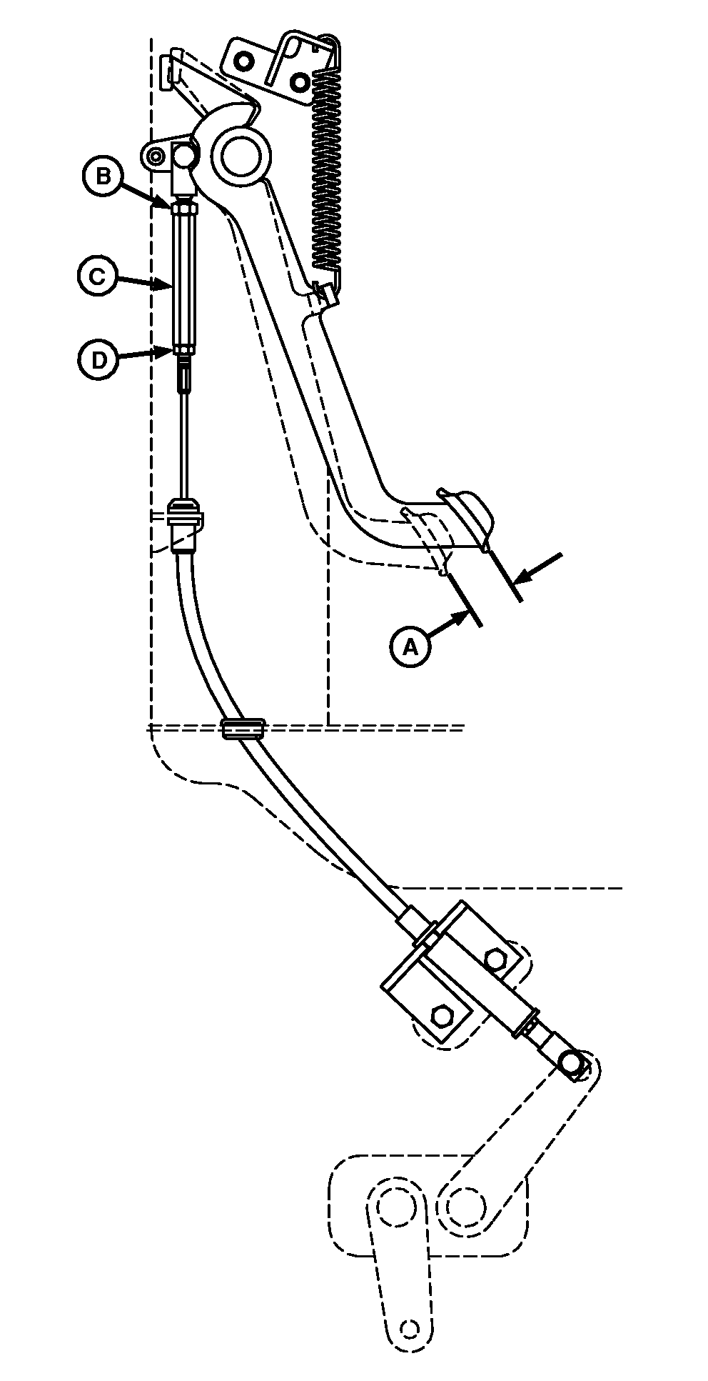
Measure distance clutch pedal travels before clutch engagement is felt. If free travel (C) is not within specification, adjust linkage.

Specification

Clutch Pedal Free Travel -Distance 32 ± 5 mm (1-1/2 ± 3/16 in.)

1. Loosen jam nuts (A).

2. Turn turnbuckle (B):

  • Counterclockwise to increase free play
  • Clockwise to decrease free play

3. Tighten jam nuts.


A-Jam Nuts
B-Turnbuckle
C-Free Travel Distance

P14936

NS43404,00004E1 -19-13FEB08-1/1