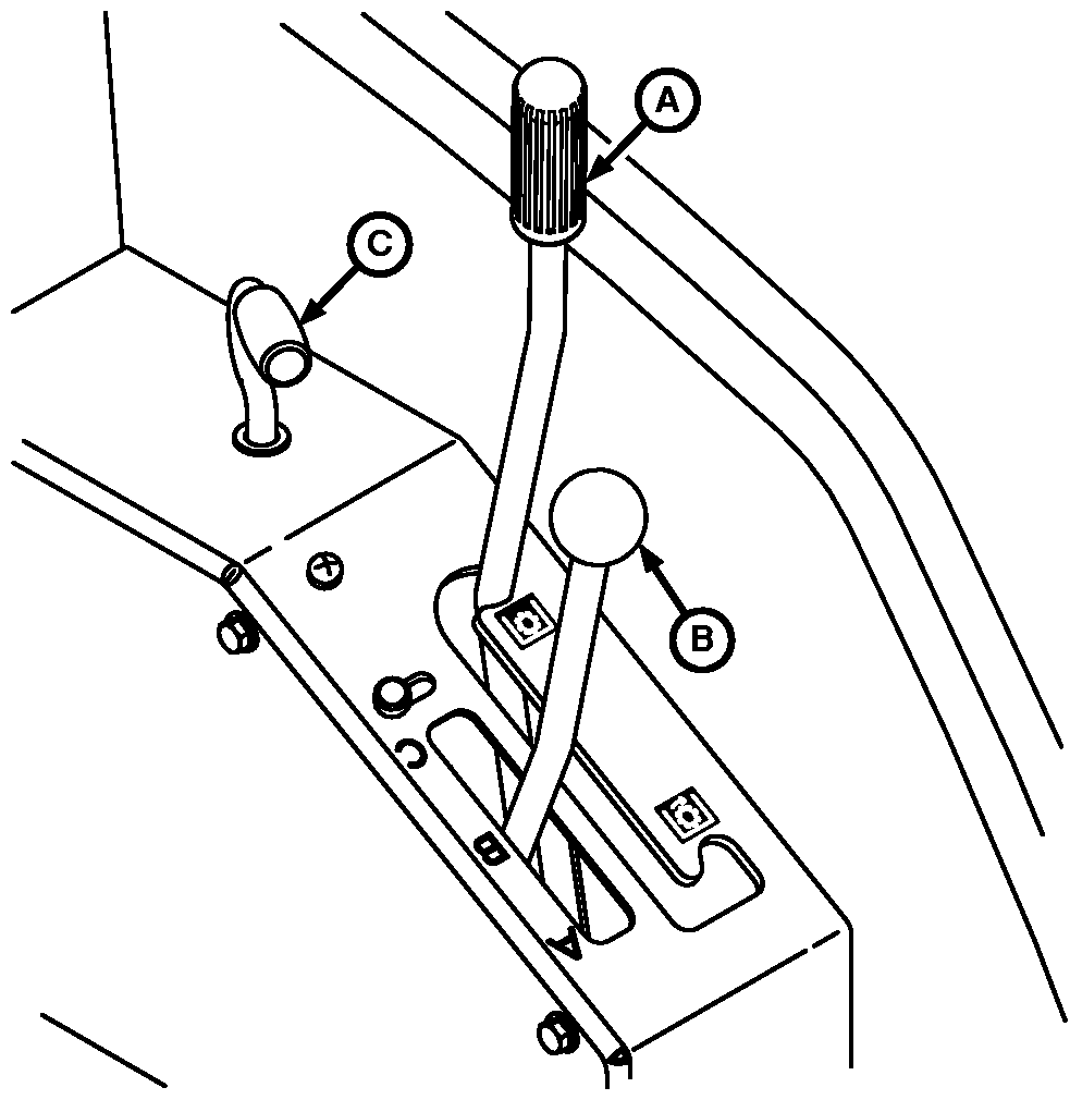
Tractor Controls-Left-Hand Panel


A-Power Take-Off (PTO) Lever
B-Transmission Range Lever
C-Mechanical Front-Wheel Drive (MFWD) Lever (If Equipped)

P9007

PX03972,0000541 -19-17DEC08-1/1