Ajuste del guardabarros delantero (eje de la TDM)

LX007817


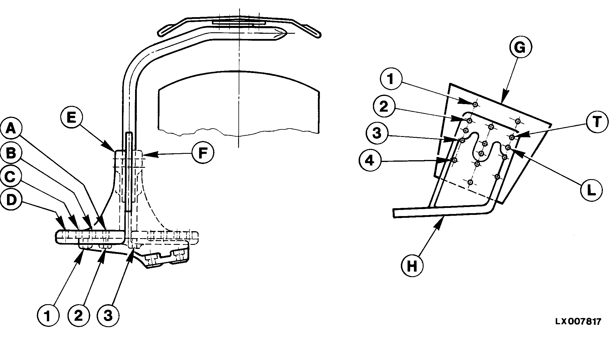
E-Soporte escuadrado orientado hacia afuera
F-Soporte escuadrado orientado hacia adentro
G-Guardabarros
H-Soporte escuadrado

Los guardabarros deben instalarse en la posición correcta dependiendo del tamaño del neumático y del ancho de vía. El ancho del guardabarros es 400 mm (15.7 in.). La tabla siguiente indica la posición correcta según tamaño de neumático, rueda y posición del disco de la llanta.

Explicación de las posiciones de la tabla

D-2 : indica qué agujeros (1, 2 ó 3 y A, B, C ó D) se atornillan juntos.

NOTA: Cada vez que se invierta la posición de la escuadra, la escuadra izquierda debe instalarse en el lado derecho del tractor y viceversa.

L/2 : indica si se deben utilizar los agujeros superiores (T) o inferiores (L) del soporte escuadrado y los agujeros correspondientes (1, 2, 3 ó 4) en el guardabarros.

NOTA: Los agujeros superiores (T) en el soporte escuadrado no se usan para esta máquina y tamaños de neumáticos.

Posición y altura del guardabarros -Indica la posición y altura correctas del guardabarros en el eje, p.ej: D-2, L3.

P15337

NS43404,00004BB -63-28MAR08-1/2


Posición de los discos de la rueda y de las llantas ajustables
    A B C D E F G
Tamaño de neumático                
13.6-24 Posición del guardabarros N/D A-2, L/3 B-3, L/3 B-1, L/3 B-2, L/3 D-2, L/3 C-3, L/3
14.9-24 Posición del guardabarros N/D N/D B-3, L/4 A-3, L/4 C-1, L/4 A-3, L/4 C-3, L/4

 

NS43404,00004BB -63-28MAR08-2/2