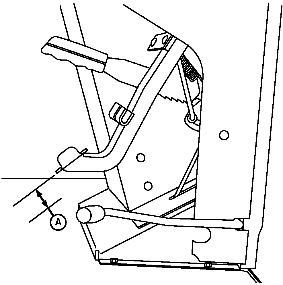
Ajuste del recorrido libre del pedal de freno

Intervalo de mantenimiento-250 horas

 

1. Estacionar en suelo nivelado. Calzar las ruedas para evitar que la máquina se mueva.

2. Desbloquear los pedales de freno.

3. Aplicar una fuerza de aproximada de 10 kg (20 lb) en un pedal de freno y medir la distancia (A) entre el pedal presionado y el desengranado. Si el recorrido libre no está dentro de lo especificado, ajustar el varillaje.

Valor especificado

Pedal de freno -Recorrido libre 70 ± 3 mm (2.75 ±0.12 in)

4. Ajustar cada pedal de freno por separado. Cada lado del tractor tiene un vástago de ajuste con tensor y tuercas de inmovilización. Para ajustar el varillaje, a cada lado del tensor (C).

a. Aflojar las tuercas de inmovilización (B).

b. Girar el tensor (C) lo necesario para aumentar o disminuir la tensión del vástago de ajuste para obtener la especificación del recorrido libre.

c. Ajustar las tuercas de inmovilización.

5. Repetir en el lado contrario.


A-Recorrido del pedal de freno
B-Tuercas de inmovilización
C-Tensor

P9095
P11553

Lado izquierdo

NS43404,00004E0 -63-13FEB08-1/1