Ajuste del recorrido libre del pedal de embrague:Embrague mecánico

Intervalo de servicio: semanalmente, 50 horas

 

IMPORTANTE: El ajuste del cable fijado al pedal de embrague viene realizado de fábrica y no necesita más ajustes durante la vida útil del tractor, a menos que se quite o desconecte el cable.

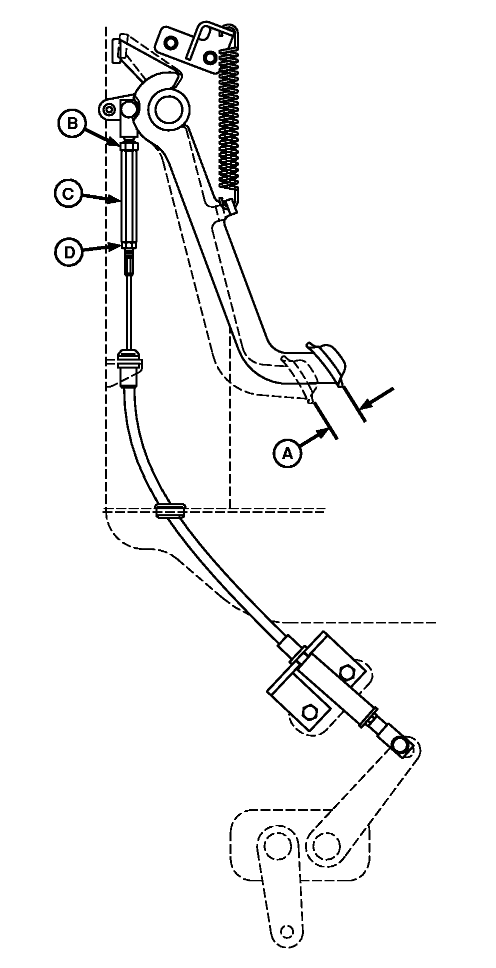
Medir el recorrido del pedal de embrague antes de que se perciba la conexión del embrague. Si el recorrido libre (C) no está dentro de lo especificado, ajustar el varillaje.

Valor especificado

Recorrido libre del pedal de embrague -Distancia 32 ± 5 mm (1-1/2 ± 3/16 in)

1. Aflojar las tuercas de inmovilización (A).

2. Girar el tensor (B):

  • El giro hacia la izquierda aumenta la holgura
  • El giro hacia la derecha disminuye la holgura

3. Ajustar las tuercas de inmovilización.


A-Tuercas de inmovilización
B-Tensor
C-Distancia del recorrido libre

P14936

NS43404,00004E1 -63-13FEB08-1/1