Mantenimiento o sustitución de la estructura de seguridad antivuelcos (OOS)

Intervalo de mantenimiento-250 horas

 

causym ATENCION: Si se aflojó o se retiró la ROPS por cualquier motivo, asegurarse de que todos los componentes queden bien instalados. Apretar los pernos de montaje con el par de apriete especificado.

La protección que ofrece la ROPS se reduce si sufre daños estructurales, como en el caso de un vuelco o bien al efectuar modificaciones por soldadura, doblado, perforación o corte. Una ROPS dañada debe reemplazarse, no volverse a usar. Cualquier alteración en la ROPS deberá ser aprobada por el fabricante.

Verificar los pares de apriete de toda la tornillería de montaje del arco de seguridad antivuelcos.

Valor especificado

Pernos de montaje de la ROPS -Par de apriete 610 N·m (450 lb-ft)

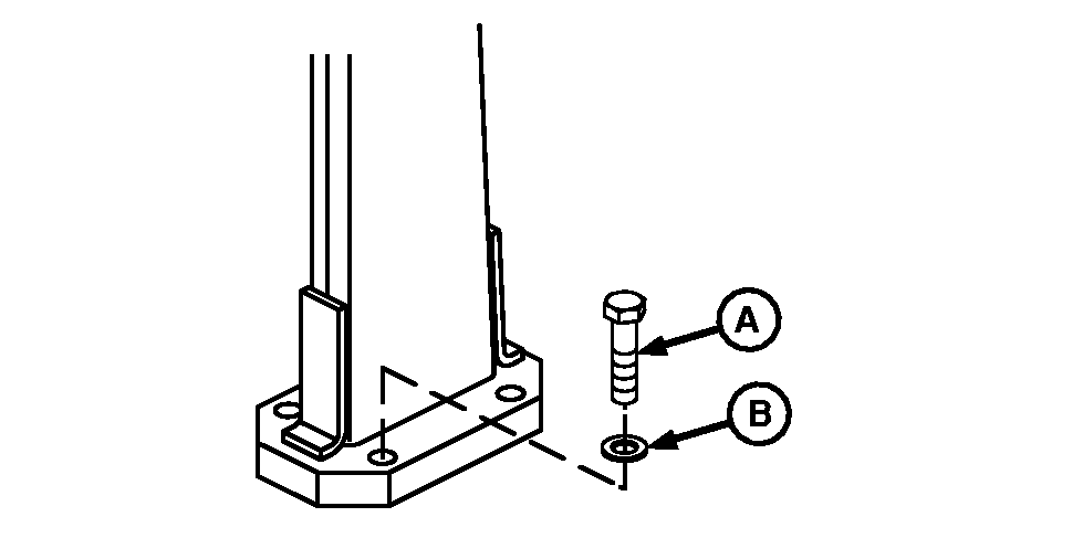
NOTA: Cuando la instalación de algún equipo en la máquina hace necesario aflojar o retirar la estructura de seguridad antivuelcos (ROPS), ajustar los pernos de montaje (A) y arandelas (B) al valor de apriete correcto al reinstalarla.

P10072


A-Pernos de montaje (8)
B-Arandelas planas (8)

NS43404,00004E9 -63-13FEB08-1/1